Yamaha Outboard Parts - Alternate 2 (FOR CANADA) - F9.9BMH (1996) | Flood Marine
New Search
Parts
New Outboards
Home
F9.9BMH (1996)
Alternate 2 (FOR CANADA)
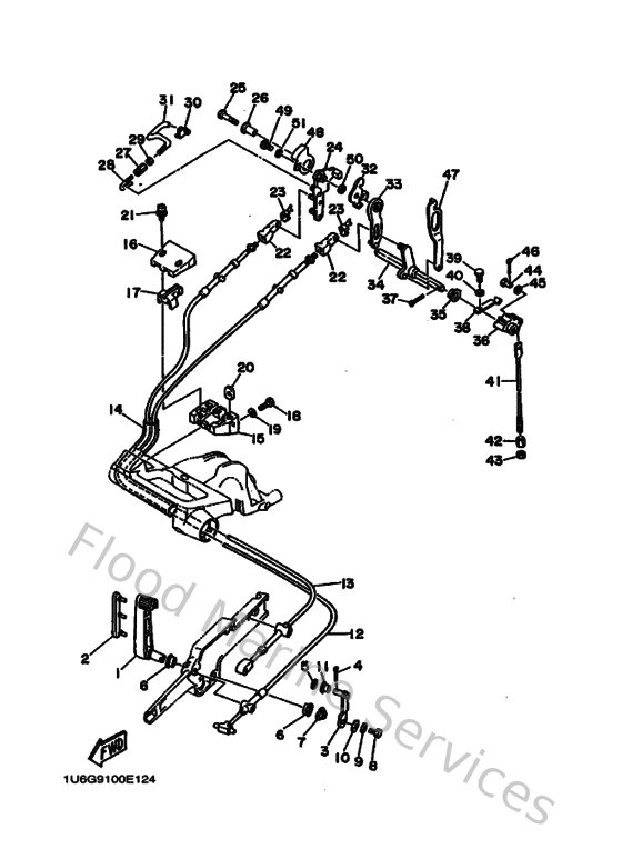
Diagram: Alternate 2 (FOR CANADA)
Parts List
Reference
Description
Price
1
6G8441210098
Lever, Shift Rod
Loading…
↗
2
6G8421290000
Bushing, Rubber
Loading…
↗
3
6G8441230000
Arm, Shift Rod
Loading…
↗
4
914901601000
Pin, cotter
Loading…
↗
5
929900520000
Ybs66-5 washer, plain
Loading…
↗
6
903861206900
Bush(666)
Loading…
↗
7
902061205200
Washer, wave (666)
Loading…
↗
8
970950601600
Bolt, hexagon deep recess
Loading…
↗
9
929900660000
Washer, plain (646)
Loading…
↗
10
9020106M9400
Washer (6g8)
Loading…
↗
11
9038605M5400
Bushing (6g8)
Loading…
↗
12
6G8483110200
Cable
Loading…
↗
13
6G8483211000
Cable
Loading…
↗
14
9044524M0000
Hose (l165)
Loading…
↗
15
6G8416610098
Bracket 1
Loading…
↗
16
6G8416620098
Bracket 2
Loading…
↗
17
6G8416630000
Bracket 3
Loading…
↗
20
6G8416540000
Nut
Loading…
↗
21
9015905M0600
Screw (6g8)
Loading…
↗
22
6G8263630000
End, wire 1
Loading…
↗
23
6G8263640000
End, wire 2
Loading…
↗
25
970950603000
Bolt(jf7)
Loading…
↗
26
9038706M5800
Collar (6g8)
Loading…
↗
27
6G8412380100
Joint, link
Loading…
↗
28
6G8412410100
Rod, Link
Loading…
↗
29
953030460000
Nut, hexagon (663)
Loading…
↗
30
6G8412370100
Joint, link
Loading…
↗
31
6G8412420100
Rod 2
Loading…
↗
32
6G8144930000
Stay 1
Loading…
↗
33
6G8441110000
Handle, gear shift 1
Loading…
↗
34
6G8441590000
Handle, gear shift 2
Loading…
↗
35
682441320000
Bushing
Loading…
↗
36
682441210100
Lever, shift rod
Loading…
↗
37
914902502000
Pin, cotter
Loading…
↗
38
682441160100
Spring
Loading…
↗
39
973950601400
Bolt(gj3)
Loading…
↗
41
6G8441431000
Rod, shift
Loading…
↗
42
901700601500
Connector, shift rod
Loading…
↗
43
953800670000
Nut
Loading…
↗
44
917900502000
Pin, Clevis
Loading…
↗
45
929900560000
Washer, plain (646)
Loading…
↗
47
6G8441241100
Link Shift Rod
Loading…
↗
48
6G8412121100
1081 Arm, Accel
Loading…
↗
49
973130601400
Bolt(gj3)
Loading…
↗
50
953800660000
Nut(661)
Loading…
↗