Yamaha Outboard Parts - Alternate 7 - 40HM (1993) | Flood Marine
New Search
Parts
New Outboards
Home
40HM (1993)
Alternate 7
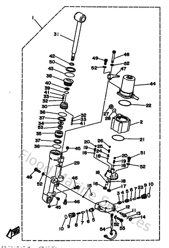
Diagram: Alternate 7
Parts List
Reference
Description
Price
1
6H54384004EJ
Power Tilt assembly
Loading…
↗
2
6H5438280000
Body, Reservoir
Loading…
↗
3
6H5438410000
Piston, Shuttle
Loading…
↗
4
6H5438610000
O-Ring
Loading…
↗
5
6H5438910000
Bushing 1
Loading…
↗
6
6H5438620000
O-Ring
Loading…
↗
7
6H5438490000
Pin, Valve Support
Loading…
↗
8
6H5438530000
Spring, Main Valve
Loading…
↗
10
6H5438630000
O-Ring
Loading…
↗
14
6H5438750000
Ring, Snap
Loading…
↗
15
6H5438660000
O-Ring
Loading…
↗
17
6H5438360000
Gear, Drive
Loading…
↗
18
6H5438581000
Ball
Loading…
↗
19
6H5438560000
Spring Down Relief
Loading…
↗
20
6H5438440000
Pin, valve support
Loading…
↗
21
6H5438670000
O-Ring
Loading…
↗
22
6H5438680000
O-ring 8
Loading…
↗
23
6H5438531000
Spring, Main Valve
Loading…
↗
24
6H5438590000
Pin, Valve Support
Loading…
↗
25
6H5438550100
Spring, Up Relief
Loading…
↗
26
6H54386F0000
Pin Straight
Loading…
↗
27
6H5438290000
Plug, Reservoir
Loading…
↗
28
6H5438650000
O-Ring
Loading…
↗
30
6H54385A0000
Piston, Tilt
Loading…
↗
31
6H5438010000
Rod
Loading…
↗
32
6H5438580000
Ball
Loading…
↗
34
6H5438930000
Washer
Loading…
↗
36
6H5438830000
O-Ring
Loading…
↗
37
6H5438710000
Ring, Back Up
Loading…
↗
38
6H54381E0000
Bracket
Loading…
↗
39
6H5438960000
O-Ring
Loading…
↗
40
6H5438730000
Ring, Back Up
Loading…
↗
42
6H5438120000
Seal, Dust
Loading…
↗
43
6H5438970000
O-Ring
Loading…
↗
44
6H5438800200
Motor assembly
Loading…
↗
45
6H5438260000
Plug, Taper Screw
Loading…
↗
46
6H5438110000
Screw, Cylinder End
Loading…
↗
47
6H54381F0000
Bracket
Loading…
↗
48
6H5438870000
Bolt, screw
Loading…
↗
49
6H5438860000
Bolt
Loading…
↗
50
6H5438720000
Ring, Back Up
Loading…
↗
51
913160602000
Bolt,socket
Loading…
↗
52
929950610000
Washer(6a1)
Loading…
↗
53
956001210000
Nut, u (4pm)
Loading…
↗
54
6G1821270000
Wire, Lead 2
Loading…
↗
55
6H54388A0000
Bolt
Loading…
↗