Yamaha Outboard Parts - Alternate 9 - 40HM (1992) | Flood Marine
New Search
Parts
New Outboards
Home
40HM (1992)
Alternate 9
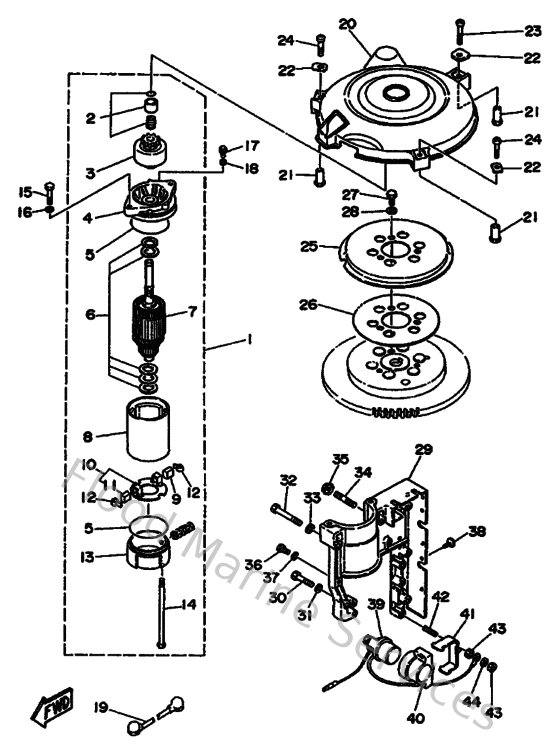
Diagram: Alternate 9
Parts List
Reference
Description
Price
1
6F5818001100
Starting motor assembly
Loading…
↗
2
689818571100
Pinion stopper set
Loading…
↗
3
689818071200
Pinion assembly
Loading…
↗
4
6F5818301100
Front cover assembly
Loading…
↗
5
689818471100
O-ring
Loading…
↗
7
689818501200
Armature assembly
Loading…
↗
8
689818101100
Stator ass'y
Loading…
↗
9
689818111100
Brush 1
Loading…
↗
10
689818401100
Brush holder assembly
Loading…
↗
11
689818121100
Brush 2
Loading…
↗
12
689818131000
Spring, brush
Loading…
↗
13
689818201100
Rear cover ass'y
Loading…
↗
14
689818261000
Bolt
Loading…
↗
15
973130803000
Bolt
Loading…
↗
16
973130801600
Bolt, hexagon
Loading…
↗
17
929900860000
Washer, plain (663)
Loading…
↗
18
6H4821170000
Wire, lead
Loading…
↗
20
6H4813370100
Cover, flywheel
Loading…
↗
21
9038706M6500
Collar (6h4)
Loading…
↗
22
9020906M0400
Washer
Loading…
↗
23
978850604000
Screw pan head
Loading…
↗
24
978950603500
Screw, pan head(6h4)
Loading…
↗
25
6J815723E100
Pulley, starter
Loading…
↗
27
970210801400
Bolt, hexagon
Loading…
↗
29
6H4818220198
Bracket, starting motor
Loading…
↗
30
973130603000
Bolt
Loading…
↗
31
929900660000
Washer, plain (646)
Loading…
↗
32
970130805000
Bolt, hexagon
Loading…
↗
34
956700664000
Bolt, stud(6h4)
Loading…
↗
35
9017906M2400
Nut(6j8)
Loading…
↗
38
9033805M1200
Plug(6h4)
Loading…
↗
39
6G1819411000
Starter relay
Loading…
↗
40
6H4819520000
Holder, relay
Loading…
↗
41
6H4819450000
Plate, switch fitting
Loading…
↗
42
9011606M2200
Bolt, stud (6h1)
Loading…
↗