Yamaha Outboard Parts - BOTTOM COWLING - E60HMHD (2024) | Flood Marine
New Search
Parts
New Outboards
Home
E60HMHD (2024)
BOTTOM COWLING
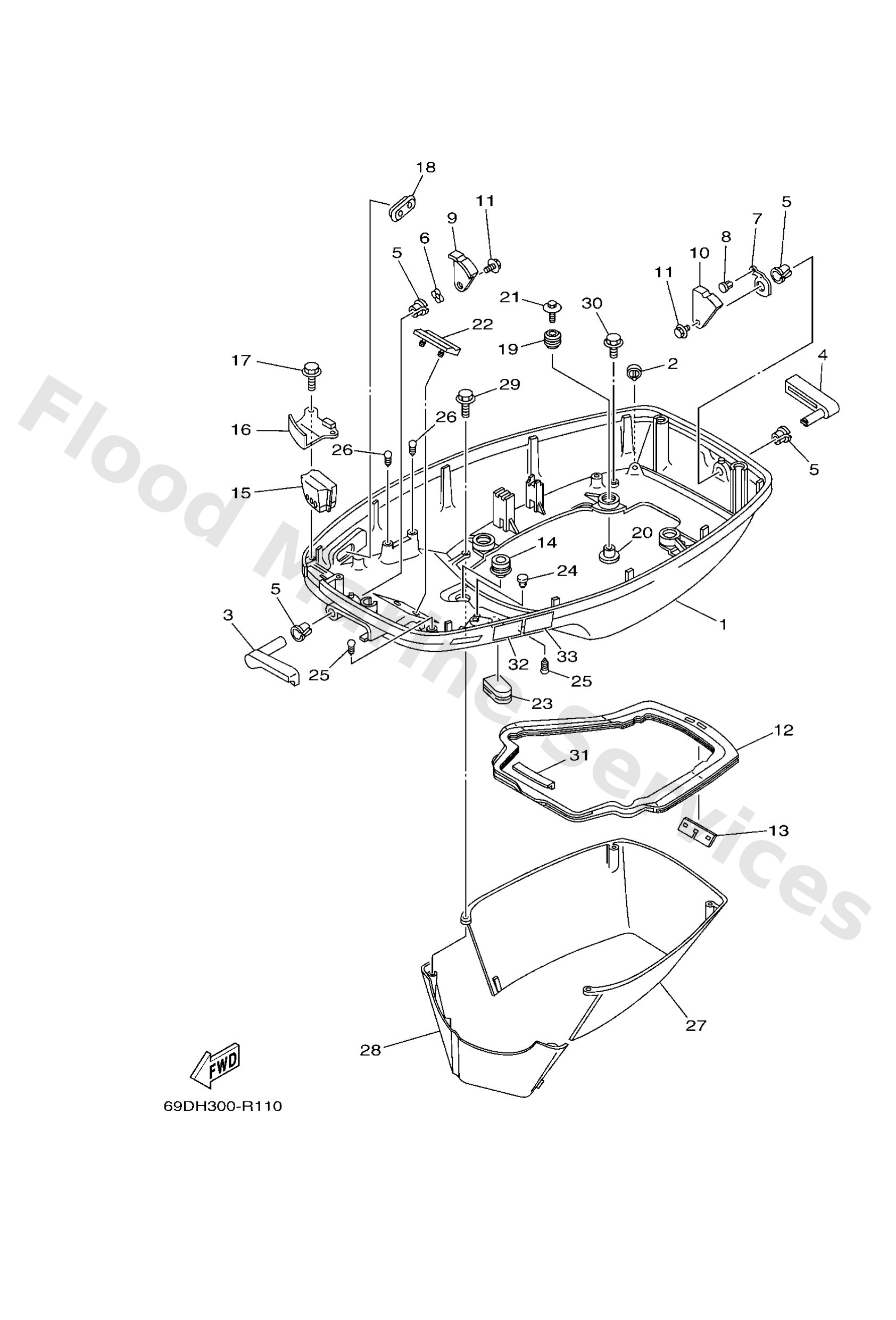
Diagram: BOTTOM COWLING
Parts List
Reference
Description
Price
1
6H342711068D
Cowling, bottom 1
Loading…
↗
2
69D4439100
Nipple, hose
Loading…
↗
3
6H342815018D
Lever, clamp
Loading…
↗
4
6H342817018D
Lever, clamp
Loading…
↗
5
9038613M38
Bushing (697)
Loading…
↗
6
9020613M10
Washer, wave (6e5)
Loading…
↗
7
6H34281300
Spring, clamp lever
Loading…
↗
8
9026904M03
Rivet (6h3)
Loading…
↗
9
6H34281600
Lever, clamp 2
Loading…
↗
10
6H34281800
Lever, clamp 4
Loading…
↗
11
9011906275
Bolt, with washer
Loading…
↗
12
6H34271602
Rubber, seal 1
Loading…
↗
13
6K54271701
Rubber, seal 2
Loading…
↗
14
6E54272401
Grommet
Loading…
↗
15
6K54272501
Grommet
Loading…
↗
16
6H34273801CA
Plate, fitting
Loading…
↗
17
97E9506516
Bolt, hexagon w/w deep recess
Loading…
↗
18
6H34272701
Grommet
Loading…
↗
19
6BG4274801
Grommet
Loading…
↗
20
9038706M69
Collar (688)
Loading…
↗
21
9011906291
Bolt, with washer
Loading…
↗
22
6H34276801
Damper
Loading…
↗
23
6H44272601
Grommet
Loading…
↗
24
7038211901
Cover, lead wire
Loading…
↗
25
9033805M03
Plug (6h1)
Loading…
↗
27
6H342741018D
Apron
Loading…
↗
28
6H342771018D
Apron
Loading…
↗
29
97E9506525
Bolt, hexagon w/w deep recess
Loading…
↗
30
97E9506520
Bolt, hexagon w/w deep recess
Loading…
↗
31
6H34271801
Rubber, seal 3
Loading…
↗
32
6EE4279440
Label, warning (general)
Loading…
↗
33
6EE4279450
Label, warning (general)
Loading…
↗