Yamaha Outboard Parts - Boitier Dhelice, Transmissio - 25JETO (1996) | Flood Marine
New Search
Parts
New Outboards
Home
25JETO (1996)
Boitier Dhelice, Transmissio
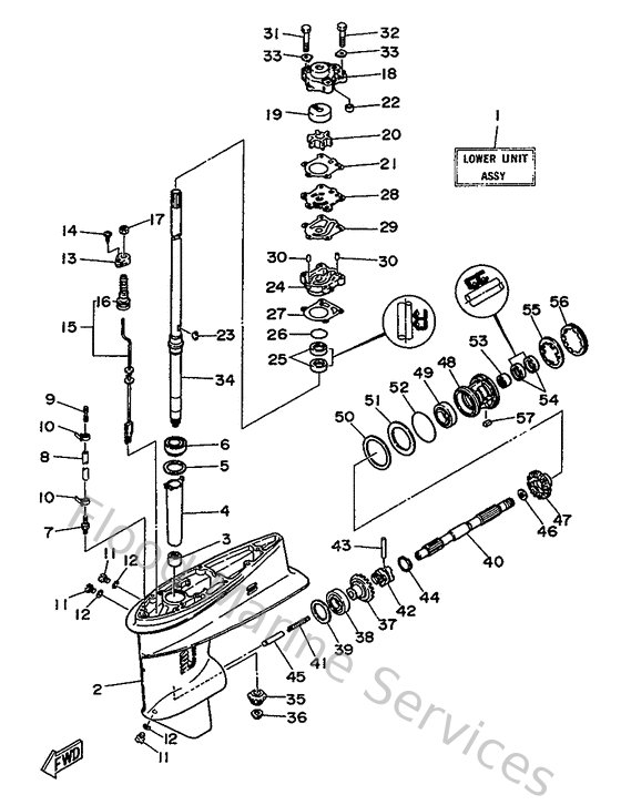
Diagram: Boitier Dhelice, Transmissio
Parts List
Reference
Description
Price
1
6J845300044D
Lower unit assembly
Loading…
↗
2
6J845301028D
Casing, lower
Loading…
↗
4
6J8455360000
Sleeve, drive shaft
Loading…
↗
5
663455870130
Shim (t:0,30mm)
Loading…
↗
7
6E5453780000
Nipple, hose
Loading…
↗
9
6E5835580000
End, nipple
Loading…
↗
13
682441760000
Bracket
Loading…
↗
15
6J8441500000
Shift cam assembly
Loading…
↗
16
682441470000
Boot, shift rod
Loading…
↗
18
6J8443110000
Housing, water pump
Loading…
↗
19
663443220000
Insert, cartridge
Loading…
↗
20
6H4443520200
Impeller
Loading…
↗
21
66344315A000
Gasket,water pump 1
Loading…
↗
22
663443660000
Damper, water seal 2
Loading…
↗
24
663443410094
Housing, water pump
Loading…
↗
29
66344324A000
Gasket,cartridge outer plate
Loading…
↗
39
6J8455670100
Shim (t:0.10mm)
Loading…
↗
40
6J8456110000
Shaft, propeller
Loading…
↗
42
6J8456310000
Clutch, dog
Loading…
↗
44
648456330000
Ring, cross pin
Loading…
↗
45
6J8456350000
Plunger, shift
Loading…
↗
47
6J8455710000
Gear
Loading…
↗
48
689453310194
Housing, bearing
Loading…
↗
50
664455770115
Shim (t:0.15mm)
Loading…
↗
51
664455760000
Washer, thrust 2
Loading…
↗
56
664453840000
Nut
Loading…
↗
1
6J8443610000
Tube, water
Loading…
↗
2
6J8443660000
Damper, water seal
Loading…
↗
3
663443670000
Damper, water seal 3
Loading…
↗
4
663453760000
Guide, seal damper
Loading…
↗
5
688453750000
Damper, seal 2
Loading…
↗
6
6J8452241000
Cover, water inlet 3
Loading…
↗
13
689452140100
Cover, water inlet 1
Loading…
↗
14
6J8452150000
Cover, water inlet
Loading…
↗
17
664453710100
Tab-trim
Loading…
↗
21
6L2459870100
Spacer
Loading…
↗
22
689459970000
Spacer
Loading…
↗
26
664459540100
Propeller (3x9-7/8 x12 -f)
Loading…
↗
27
6J8W459100EL
Propeller (3x10-5/8"x8-1/4"-f)
Loading…
↗
28
6J8459861098
Ring, deflector
Loading…
↗