Yamaha Outboard Parts - Boitier Dhelice, Transmissio - 2BMH (1995) | Flood Marine
New Search
Parts
New Outboards
Home
2BMH (1995)
Boitier Dhelice, Transmissio
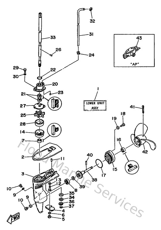
Diagram: Boitier Dhelice, Transmissio
Parts List
Reference
Description
Price
1
6A145300034D
Lower unit assembly
Loading…
↗
2
6A145181004D
Plate
Loading…
↗
3
6A145311024D
Casing Lower
Loading…
↗
4
6L5452510200
Anode
Loading…
↗
5
958950601200
Bolt, flange deep recess
Loading…
↗
6
929900630000
Washer, tooth
Loading…
↗
7
931031105100
Oil seal (11x21x8-646)
Loading…
↗
8
933060000100
Brg,r-b 6000 26mm 19g ky
Loading…
↗
9
904300802000
Gasket
Loading…
↗
10
903400800200
Plug, straight screw
Loading…
↗
11
9360518M0400
Pin, dowel b (6a1)
Loading…
↗
12
970950603000
Bolt(jf7)
Loading…
↗
13
929900660000
Washer, plain (646)
Loading…
↗
14
6A1443250000
Protector, oil seal
Loading…
↗
15
6GDG5361008D
Cap, lower casing
Loading…
↗
16
931031005200
Oil seal (10x21x10-646)
Loading…
↗
20
6A1443120194
Cover,water pump housing
Loading…
↗
26
936040906600
Pin, dowel
Loading…
↗