Yamaha Outboard Parts - Boitier Dhelice, Transmissio - F45A (1998) | Flood Marine

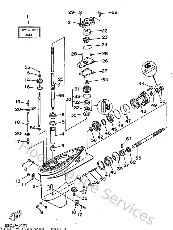
Diagram: Boitier Dhelice, Transmissio

Diagram

Parts List

Reference
Description
Price