Yamaha Outboard Parts - Bottom Cowling - 8CEM (1992) | Flood Marine
New Search
Parts
New Outboards
Home
8CEM (1992)
Bottom Cowling
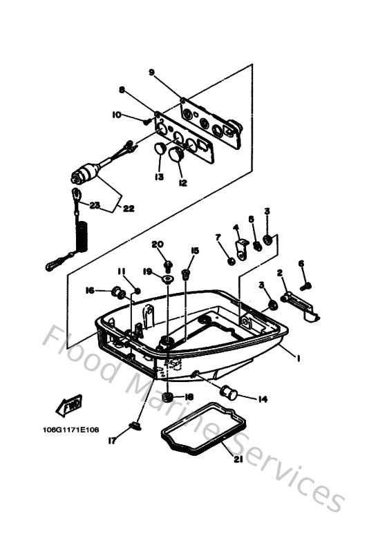
Diagram: Bottom Cowling
Parts List
Reference
Description
Price
1
6G14271101EK
Bottom Cowling
Loading…
↗
2
6G14281500EK
Lever, Clamp 1
Loading…
↗
3
9038612M4500
Bushing (6g1)
Loading…
↗
4
6E0428160000
Lever, clamp
Loading…
↗
5
902061205200
Washer, wave (666)
Loading…
↗
6
978950603000
Screw, pan head(6e0)
Loading…
↗
7
953030670000
Nut
Loading…
↗
8
6G1427198100
Pannel front lower
Loading…
↗
9
6N0G27670000
Bracket 3
Loading…
↗
10
9014905M0200
Screw (6g1)
Loading…
↗
11
953030570000
Nut (656)
Loading…
↗
12
6G1427240000
Grommet
Loading…
↗
13
6G1427250000
Grommet
Loading…
↗
14
6G1427260000
Grommet 3
Loading…
↗
15
6G1427270000
Grommet
Loading…
↗
16
6G1427480000
Grommet
Loading…
↗
17
6G1263260000
Grommet
Loading…
↗
18
9048015M3100
Grommet (6g1)
Loading…
↗
19
9038706M5200
Collar (6g1)
Loading…
↗
20
9010506M1500
Bolt (6e0)
Loading…
↗
21
6G1427160000
Rubber, seal 1
Loading…
↗
22
6E9825750000
Engine stop switch assembly
Loading…
↗
23
682825560000
Lanyard, stop switch
Loading…
↗