Yamaha Outboard Parts - Bracket - 9.9DMH (1987) | Flood Marine
New Search
Parts
New Outboards
Home
9.9DMH (1987)
Bracket
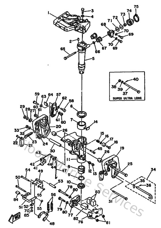
Diagram: Bracket
Parts List
Reference
Description
Price
2
936061201900
Pin, dowel (614)
Loading…
↗
3
973950602500
Bolt
Loading…
↗
4
929900660000
Washer, plain (646)
Loading…
↗
5
682425210094
Shaft, steering pivot
Loading…
↗
6
9020952M0100
Washer (682)
Loading…
↗
7
682425370000
Bushing, pivot shaft
Loading…
↗
8
9038640M0900
Bush (682)
Loading…
↗
9
9321040M1000
O-ring (682)
Loading…
↗
10
9038640M0800
Bush (682)
Loading…
↗
11
6824331103EJ
Bracket Swivel
Loading…
↗
12
9370006M0300
Nipple, grease(6a1)
Loading…
↗
13
663451190000
Cap, grease nipple
Loading…
↗
14
648425280000
Plate, friction
Loading…
↗
15
9050118M0000
Spring, compression (676)
Loading…
↗
16
929900860000
Washer, plain (663)
Loading…
↗
17
676433730000
Damper, seal
Loading…
↗
18
970950802500
Bolt (62g)
Loading…
↗
21
6164311800EJ
Handle, transom clamp
Loading…
↗
22
902430400100
Pin(6a9)
Loading…
↗
23
9014914M0300
Screw(6j8)
Loading…
↗
24
648431140100
Pad, transom clamp
Loading…
↗
25
9010110M5700
Bolt
Loading…
↗
26
626431360000
Piece,friction
Loading…
↗
27
905045900600
Spring Compression 6264319800
Loading…
↗
28
929901060000
Washer, plate
Loading…
↗
29
953801070000
Nut (682)
Loading…
↗
30
9038706M1300
Collar(6h6)
Loading…
↗
31
9010106M2900
Bolt, hexagon (682)
Loading…
↗
33
953800670000
Nut
Loading…
↗
34
689431600000
Tilt rod assembly
Loading…
↗
35
656431650100
Plate, tilt lock
Loading…
↗
36
916903000800
Pin. spring(656)
Loading…
↗
37
9010208M0100
Bolt (682)
Loading…
↗
38
9017108M0000
Nut, castle (682)
Loading…
↗
40
914902001500
Pin, cotter (648)
Loading…
↗
41
682436310000
Lever, Tilt
Loading…
↗
42
9050812M0300
Spring, Torsion
Loading…
↗
43
682436160000
Rod, tilt lock 1
Loading…
↗
44
682436410000
Lever, tilt
Loading…
↗
45
9024906M2300
Pin(6e7)
Loading…
↗
46
934300502700
Circlip(22k)
Loading…
↗
47
682436170000
Rod, tilt lock 2
Loading…
↗
48
682436140000
Plate, tilt lock 1
Loading…
↗
49
682436150100
Plate, tilt lock
Loading…
↗
50
682436590100
Shaft, reverse lock
Loading…
↗
52
682436430000
Spring
Loading…
↗
53
9038706M1000
Collar(6m7)
Loading…
↗
54
682436110000
Shaft, tilt lock
Loading…
↗
55
990800560000
Circlip(22k)
Loading…
↗
56
9050626M0100
Spring, tension (682)
Loading…
↗
57
6E7431810000
Lever, tilt stop 1
Loading…
↗
58
9010906M0500
Bolt (682)
Loading…
↗
59
9010906M0300
Bolt (682)
Loading…
↗
60
956800610000
U-nut (6a5)
Loading…
↗
62
9020610M1500
Washer, wave (6e7)
Loading…
↗
63
682433390100
Washer
Loading…
↗
64
682433180100
Cover
Loading…
↗
65
9010108M3000
Bolt (682)
Loading…
↗
66
9020108M1200
Washer plate (682)
Loading…
↗
67
682445210100
Seal
Loading…
↗
68
682445140094
Mount damper, upper side
Loading…
↗
69
9010106M2700
Bolt
Loading…
↗
71
9020213M0200
Washer plate (682)
Loading…
↗
72
9020108M1300
Washer plate (682)
Loading…
↗
73
9018508M0000
Nut, nylon (6j8)
Loading…
↗
74
682445220100
Seal
Loading…
↗
75
9046042M0100
Clamp, Hose
Loading…
↗
78
973950808500
Bolt, with washer
Loading…
↗
79
973950805500
Bolt, hexagon
Loading…
↗
81
953800870000
Nut(661)
Loading…
↗
82
682445570000
Mount damper, lower front
Loading…
↗
83
682445550000
Mount damper, lower side
Loading…
↗
85
973950600800
Bolt (fj1)
Loading…
↗