Yamaha Outboard Parts - Bracket 1 - 15DEH (1995) | Flood Marine
New Search
Parts
New Outboards
Home
15DEH (1995)
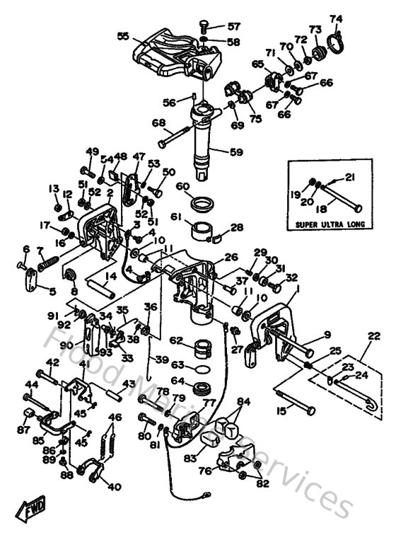
Bracket 1
Diagram: Bracket 1
Parts List
Reference
Description
Price
1
68243111034D
Bracket, Clamp
Loading…
↗
2
68243112044D
Bracket Clamp
Loading…
↗
3
6E5821480000
Wire, lead 5
Loading…
↗
4
985800600800
Screw, pan head(6a3)
Loading…
↗
5
999990280800
Handle, transom clamp
Loading…
↗
6
9024304M0000
Pin(6a9)
Loading…
↗
7
6E7431160000
Screw, transom clamp
Loading…
↗
8
648431140100
Pad, transom clamp
Loading…
↗
9
9010110M0100
Bolt(6e7)
Loading…
↗
10
9020110M0300
Washer, Plate
Loading…
↗
12
6E7431130100
Plate, clamp bracket
Loading…
↗
13
957801030000
Nut, nylon (6e5)
Loading…
↗
14
9038706M1300
Collar(6h6)
Loading…
↗
15
9010106M2900
Bolt, hexagon (682)
Loading…
↗
16
929900660000
Washer, plain (646)
Loading…
↗
17
9538R0670000
Nut
Loading…
↗
18
9010208M0100
Bolt (682)
Loading…
↗
19
9017108M0000
Nut, castle (682)
Loading…
↗
20
929900860000
Washer, plain (663)
Loading…
↗
21
914902001500
Pin, cotter (648)
Loading…
↗
22
689431600000
Tilt rod assembly
Loading…
↗
23
6EEG31650000
Plate, tilt lock
Loading…
↗
24
916903000800
Pin. spring(656)
Loading…
↗
25
9050210M0700
Spring, conical(6k3)
Loading…
↗
26
68243311054D
Bracket, swivel
Loading…
↗
27
9370006M0300
Nipple, grease(6a1)
Loading…
↗
28
648425280000
Plate, friction
Loading…
↗
29
9050118M0000
Spring, compression (676)
Loading…
↗
31
676433730000
Damper, seal
Loading…
↗
32
973950802500
Bolt (62g)
Loading…
↗
33
682436310000
Lever, Tilt
Loading…
↗
34
9050812M0300
Spring, Torsion
Loading…
↗
35
682436160000
Rod, tilt lock 1
Loading…
↗
36
682436410000
Lever, tilt
Loading…
↗
37
9024906M2300
Pin(6e7)
Loading…
↗
38
990800560000
Circlip(22k)
Loading…
↗
39
682436170000
Rod, tilt lock 2
Loading…
↗
40
682436150200
Plate, tilt lock
Loading…
↗
42
682436110100
Shaft, tilt lock
Loading…
↗
43
9038706M2000
Collar(6m7)
Loading…
↗
44
682436590000
Shaft, reverse lock
Loading…
↗
46
9050626M0700
Spring, tension (683)
Loading…
↗
47
6E7431810100
Lever, tilt stop 1
Loading…
↗
48
682433180100
Cover
Loading…
↗
49
9010906M0300
Bolt (682)
Loading…
↗
50
9010906M0500
Bolt (682)
Loading…
↗
51
956800610000
U-nut (6a5)
Loading…
↗
53
9020610M1500
Washer, wave (6e7)
Loading…
↗
54
682433390100
Washer
Loading…
↗
55
6K442511014D
Bracket Steering
Loading…
↗
56
936061201900
Pin, dowel (614)
Loading…
↗
57
970950602500
Bolt
Loading…
↗
59
682425210000
Shaft, steering pivot
Loading…
↗
60
9020952M0100
Washer (682)
Loading…
↗
61
682425370000
Bushing, pivot shaft
Loading…
↗
62
9038640M0900
Bush (682)
Loading…
↗
63
9321040M1000
O-ring (682)
Loading…
↗
64
9038640M0800
Bush (682)
Loading…
↗
65
6824451431CA
Mount damper, upper side
Loading…
↗
68
9010108M3000
Bolt (682)
Loading…
↗
69
9020108M1200
Washer plate (682)
Loading…
↗
70
9020108M1300
Washer plate (682)
Loading…
↗
71
9020213M0200
Washer plate (682)
Loading…
↗
72
957800830000
Nut, nylon (6j8)
Loading…
↗
73
682445220000
Seal
Loading…
↗
74
9046511M5200
Clamp(6e7)
Loading…
↗
75
682445210100
Seal
Loading…
↗
76
68244551024D
Housing, lower mount rubber 1
Loading…
↗
77
68244552014D
Housing, lower mount rubber 2
Loading…
↗
78
973950808500
Bolt, with washer
Loading…
↗
80
970950805500
Bolt, hexagon
Loading…
↗
82
953800870000
Nut(661)
Loading…
↗
83
682445570000
Mount damper, lower front
Loading…
↗
84
682445550000
Mount damper, lower side
Loading…
↗
86
682436430000
Spring
Loading…
↗
88
970950600800
Bolt (fj1)
Loading…
↗
92
903861002500
Bushing (658)
Loading…
↗
93
903861004500
Bush (663)
Loading…
↗