Yamaha Outboard Parts - Bracket 2 - 115CETOL (1990) | Flood Marine
New Search
Parts
New Outboards
Home
115CETOL (1990)
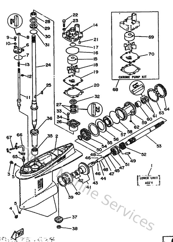
Bracket 2
Diagram: Bracket 2
Parts List
Reference
Description
Price
2
9010906M0700
Bolt (6e5)
Loading…
↗
3
6E5436130000
Arm, tilt lock
Loading…
↗
4
6E5436140000
Plate, tilt lock 1
Loading…
↗
5
6E5436150000
Plate, Tilt Lock
Loading…
↗
6
9024006M0700
Pin, Clevis
Loading…
↗
7
929900660000
Washer, plain (646)
Loading…
↗
8
914902502000
Pin, cotter
Loading…
↗
9
9050623M1000
Spring, Tension
Loading…
↗
10
6E5436590000
Shaft, Reverse Lock
Loading…
↗
11
929900860000
Washer, plain (663)
Loading…
↗
12
914902501500
Pin, cotter
Loading…
↗
13
6E5436790000
Stopper, Hook
Loading…
↗
14
970950601600
Bolt, hexagon deep recess
Loading…
↗
16
903860803200
Bushing (650)
Loading…
↗
17
9020208M0800
Washer, Plate
Loading…
↗
19
914902001500
Pin, cotter (648)
Loading…
↗
20
6E5433170000
Grip
Loading…
↗
21
987800500800
Screw Flat Head(6J8)
Loading…
↗
22
9050609M0900
Spring, Tension
Loading…
↗
23
688431840000
Collar, anchor lever
Loading…
↗
24
914903003000
Pin, cotter
Loading…
↗
25
6E5436760000
Hook
Loading…
↗
26
6E5436160000
Rod, tilt lock
Loading…
↗
27
6E5431240000
Pin, lower shock mount
Loading…
↗
30
6E54317000EJ
Shock absorber assembly
Loading…
↗