Yamaha Outboard Parts - Bracket 2 - 40QMH (1997) | Flood Marine
New Search
Parts
New Outboards
Home
40QMH (1997)
Bracket 2
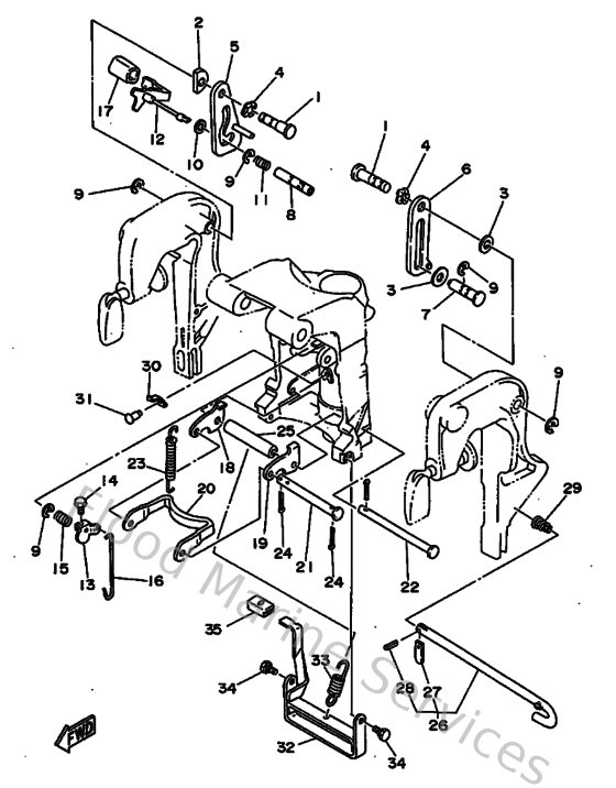
Diagram: Bracket 2
Parts List
Reference
Description
Price
1
9024912M2700
Pin(6f6)
Loading…
↗
2
676431320000
Washer, friction 1
Loading…
↗
3
9020212M0100
Washer, plate (676)
Loading…
↗
4
9020612M0000
Washer, wave (676)
Loading…
↗
5
6F5436278000
Stopper 1
Loading…
↗
6
6F5436288000
Stopper 2
Loading…
↗
7
9024912M1300
Pin (6f5)
Loading…
↗
8
676431910000
Shaft, stopper
Loading…
↗
9
990801060000
Circlip
Loading…
↗
10
9020206M0000
Washer, plate (676)
Loading…
↗
11
9050114M0500
Spring, compression (676)
Loading…
↗
12
6F5436308000
Tilt lever assembly
Loading…
↗
13
676436310000
Lever, tilt 1
Loading…
↗
14
970950501000
Bolt (682)
Loading…
↗
15
9050814M0000
Spring, torsion (676)
Loading…
↗
16
676436160000
Rod, tilt lock 1
Loading…
↗
17
663433180000
Cover
Loading…
↗
18
676436140000
Plate, tilt lock 1
Loading…
↗
19
676436150000
Plate, tilt lock 2
Loading…
↗
20
676436130000
Arm, tilt lock
Loading…
↗
21
9024907M0100
Pin (676)
Loading…
↗
22
9024907M0200
Pin (676)
Loading…
↗
23
9050630M0000
Spring, tension (676)
Loading…
↗
24
914902001500
Pin, cotter (648)
Loading…
↗
25
9038707M0400
Collar (676)
Loading…
↗
26
676431600200
Tilt rod assembly
Loading…
↗
27
676431650000
Stopper plate, titl lock rod
Loading…
↗
28
916903001000
Pin, spring (663)
Loading…
↗
29
9050210M0400
Spring, conical(6f5)
Loading…
↗
30
676436430000
Spring
Loading…
↗
31
9026904M0000
Rivet (676)
Loading…
↗
32
6R6436810000
Lever, Shallow Water Drive 1
Loading…
↗
33
9050623M3200
Spring, Tension
Loading…
↗
34
9010906M1800
Bolt (689)
Loading…
↗
35
682433180100
Cover
Loading…
↗