Yamaha Outboard Parts - Carburetor - 115CETOL (1995) | Flood Marine
New Search
Parts
New Outboards
Home
115CETOL (1995)
Carburetor
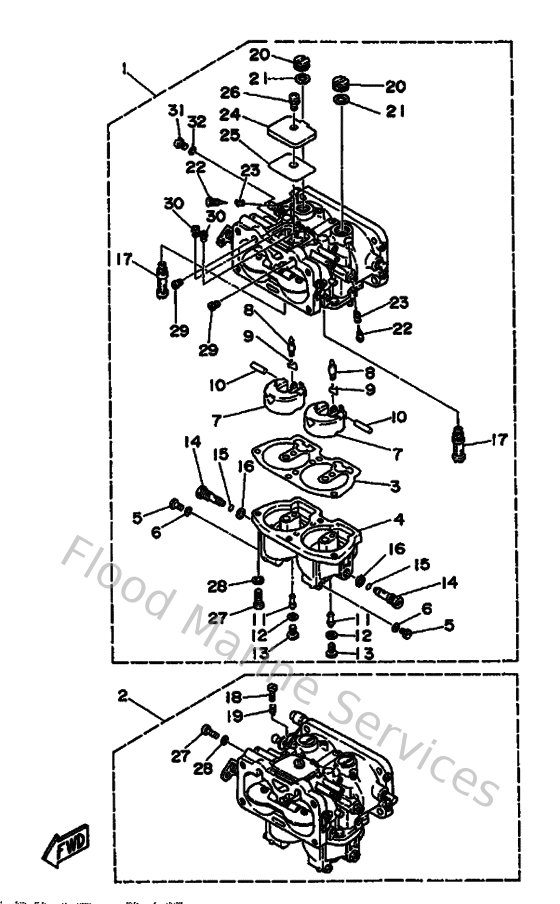
Diagram: Carburetor
Parts List
Reference
Description
Price
1
6E5143011400
Carburetor Assembly 1
Loading…
↗
2
6E5143021400
Carburetor Assembly 2
Loading…
↗
3
6E5143840300
Gasket, float chamber
Loading…
↗
4
6E5143810300
Body, Float Chamber
Loading…
↗
5
6E5143830100
Screw, drain
Loading…
↗
6
6J8149950000
Gasket, drin screw
Loading…
↗
7
6E5143850200
Float
Loading…
↗
8
6E5145460000
Valve, needle
Loading…
↗
9
6E5141590000
Clip
Loading…
↗
10
6E5143860200
Pin, float
Loading…
↗
11
6E51492F3900
Jet, Air Slow
Loading…
↗
12
6E5143970000
Gasket
Loading…
↗
13
6E5143940000
Valve, Drain
Loading…
↗
14
6E51492E9000
Jet, Main (#180)
Loading…
↗
15
6E5149970000
O-ring
Loading…
↗
16
6E5143980100
Gasket
Loading…
↗
17
6E51492A0000
Nozzle, main
Loading…
↗
18
6E5143210000
Screw, throttle
Loading…
↗
19
6J8143340000
Spring, throttle
Loading…
↗
20
6E5143280100
Plug
Loading…
↗
21
6E5149790000
Gasket
Loading…
↗
22
6E5143230300
Screw, air adjusting
Loading…
↗
23
6E5142230000
Spring, air adjusting
Loading…
↗
24
6E5145270100
Plate
Loading…
↗
25
6E5149590100
Gasket
Loading…
↗
26
979800510800
Screw, with washer
Loading…
↗
27
985800501600
Screw, pan head(6b0)
Loading…
↗
28
929900510000
Ybs67-5 washer, spring
Loading…
↗
29
61A1492H1200
Jet, slow air (#60)
Loading…
↗
30
61A1492G5800
Jet, Main Air Bleed
Loading…
↗
31
6E5143240000
Screw, flat head
Loading…
↗