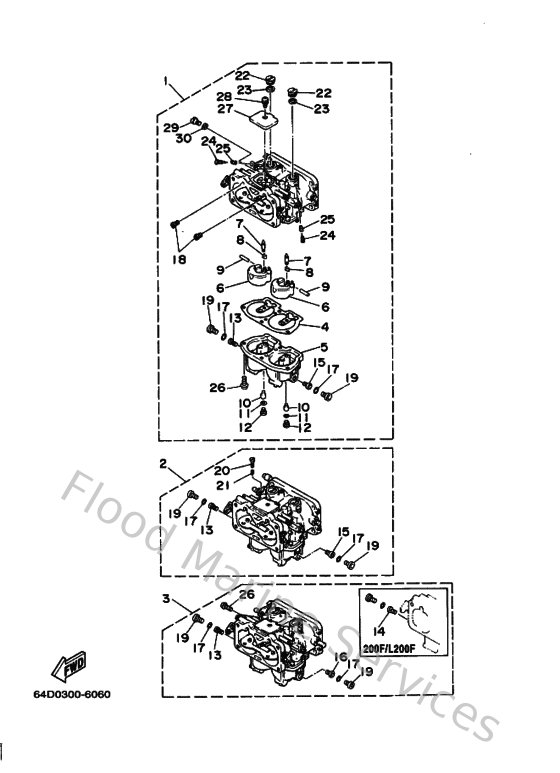
Yamaha Outboard Parts - Carburetor - 150FETOL (2001) | Flood Marine

Diagram: Carburetor

Diagram