Yamaha Outboard Parts - Carburetor - 50HM (1995) | Flood Marine
New Search
Parts
New Outboards
Home
50HM (1995)
Carburetor
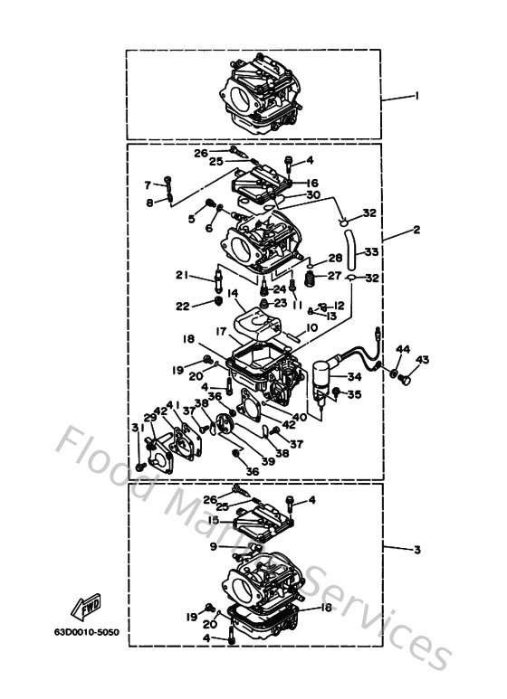
Diagram: Carburetor
Parts List
Reference
Description
Price
1
63D143010000
Carburetor assembly 1
Loading…
↗
2
63D143020000
Carburetor assembly 2
Loading…
↗
3
62W143030000
Carburetor assembly 3
Loading…
↗
4
979800411400
Screw, pan head(ga5)
Loading…
↗
5
6K5145920000
Screw
Loading…
↗
6
902010565200
Washer, plate(65j)
Loading…
↗
7
6H1145230000
Screw, stop
Loading…
↗
8
905011032600
Spring coil(663)(carb)
Loading…
↗
9
6H2145780000
Collar
Loading…
↗
11
985800400800
Screw, pan head (713)
Loading…
↗
12
633141590000
Clip
Loading…
↗
13
676141860000
Pin, valve
Loading…
↗
14
6H4149850100
Float
Loading…
↗
16
6H3141461000
Plate
Loading…
↗
17
6H4149840000
Gasket, float chamber
Loading…
↗
18
6H3149801000
Body, float chamber
Loading…
↗
19
6H3149920000
Screw, drain
Loading…
↗
20
932100423000
O-ring (371)
Loading…
↗
21
63D149470000
Jet, needle
Loading…
↗
22
676149433200
Jet, main (#125)
Loading…
↗
23
676149660000
Rubber cap
Loading…
↗
24
6H4149481100
Jet (#60)
Loading…
↗
25
679145550000
Spring
Loading…
↗
26
692149230000
Screw, adjusting
Loading…
↗
27
6H4145900000
Needle valve assembly
Loading…
↗
28
932100422800
O-ring (371)
Loading…
↗
29
6H3244521000
Cover
Loading…
↗
30
6H4141470000
O-ring
Loading…
↗
31
6H4145670000
Screw
Loading…
↗
32
5BF149190000
Clip
Loading…
↗
33
6H3143490000
Pipe
Loading…
↗
34
63D143800000
Prime starter assembly
Loading…
↗
35
985800401000
Screw, pan head (e56)
Loading…
↗
36
953800360000
Nut (6g8)
Loading…
↗
37
989800300600
Screw, bind(6g1)
Loading…
↗
38
6L5244210000
Valve, check
Loading…
↗
39
6H4244130000
Body 2
Loading…
↗
40
6H4244860000
O-ring
Loading…
↗
41
6H3244111000
Diaphragm
Loading…
↗
42
6H3244341000
Gasket, body
Loading…
↗
43
970130601200
Bolt(gh1)
Loading…
↗
44
929900660000
Washer, plain (646)
Loading…
↗