Yamaha Outboard Parts - Carburetor - F9.9BMH (1993) | Flood Marine
New Search
Parts
New Outboards
Home
F9.9BMH (1993)
Carburetor
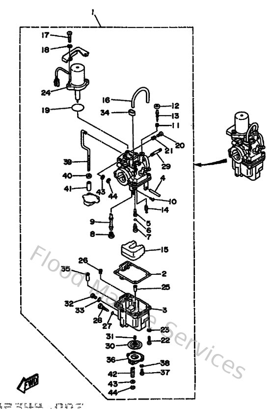
Diagram: Carburetor
Parts List
Reference
Description
Price
1
6G9143010400
Carburetor assembly 1
Loading…
↗
2
6G8143840100
Gasket, float chamber
Loading…
↗
3
6G8143810100
Body Float Chamber
Loading…
↗
4
647143861000
Pin, float
Loading…
↗
5
6G8143422200
Jet, Pilot (# 44)
Loading…
↗
6
654141980000
Gasket
Loading…
↗
7
6G8143450000
Plug
Loading…
↗
8
648143434300
Jet, main (#86)
Loading…
↗
9
6G8143412000
Nozzle, main
Loading…
↗
10
6G8142160000
Screw
Loading…
↗
11
647143340000
Spring, air adjusting.
Loading…
↗
12
6G8149970000
Seal
Loading…
↗
13
6G8143230000
Screw, air adjusting
Loading…
↗
14
6G8143920000
Valve, needle
Loading…
↗
15
6G8143850000
Float assembly
Loading…
↗
16
6G8141970100
Pipe
Loading…
↗
17
985030601400
Screw, pan
Loading…
↗
18
929950610000
Washer(6a1)
Loading…
↗
19
1HV141470000
O-ring
Loading…
↗
20
985030401400
Screw, pan head(ga5)
Loading…
↗
21
646142120100
Spring, pilot adjusting
Loading…
↗
22
985800401400
Screw, pan head(ga5)
Loading…
↗
23
929900410000
Ybs67-4 washer, spring
Loading…
↗
24
6G81410A0100
Starter set
Loading…
↗
25
6G8148270000
Filter
Loading…
↗
26
6A4143443000
Jet, starter # 60
Loading…
↗
28
6G8143830000
Screw Drain
Loading…
↗
29
9011606M2600
Bolt, Stud
Loading…
↗
30
6G8143680100
Diaphragm assembly 1
Loading…
↗
31
6G8142750100
Spring
Loading…
↗
32
985800500600
Screw,panhead (eg9)
Loading…
↗
33
646141980100
Gasket
Loading…
↗
35
6G8142170000
Valve, Choke
Loading…
↗
36
6G8142930300
Cover 1
Loading…
↗
37
985800401000
Screw, pan head (e56)
Loading…
↗
39
6G8143790000
Rod Starter
Loading…
↗
40
988130310000
Nut
Loading…
↗
41
6G8142290000
Shaft Choke
Loading…
↗
42
6G8142860100
Spring
Loading…
↗
43
6G8143570000
Washer Plain
Loading…
↗
44
389141370000
Clip, needle
Loading…
↗