Yamaha Outboard Parts - Carburetor - FT9.9DMHSL (1999) | Flood Marine
New Search
Parts
New Outboards
Home
FT9.9DMHSL (1999)
Carburetor
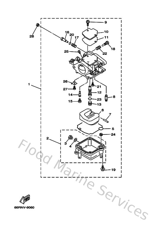
Diagram: Carburetor
Parts List
Reference
Description
Price
1
66R143010000
Carburetor assembly 1
Loading…
↗
2
66N143810000
Body, Float Chamber
Loading…
↗
3
62Y143830000
Screw, drain
Loading…
↗
4
66M143980000
Gasket
Loading…
↗
5
66M143840000
Gasket, float chamber
Loading…
↗
6
6L2143850000
Float
Loading…
↗
7
6E5143860100
Pin, float
Loading…
↗
8
6L2143920000
Valve, needle
Loading…
↗
9
985800401000
Screw, pan head (e56)
Loading…
↗
10
6L2141570000
Cover, mixing
Loading…
↗
11
62Y143990000
Gasket
Loading…
↗
12
66N143410000
Nozzle, main
Loading…
↗
13
66N143433400
Jet, main (#68)
Loading…
↗
14
66M143422300
Jet, pilot (#45)
Loading…
↗
15
62Y143550000
Plug
Loading…
↗
16
62Y143231000
Screw, Air Adjusting
Loading…
↗
17
30X143340000
Spring, air adjusting
Loading…
↗
18
62Y143210000
Screw, throttle
Loading…
↗
19
979800411200
Screw, pan head (686)
Loading…
↗
20
62Y143970000
O-ring
Loading…
↗
21
989800400600
Screw, bind(6l2)
Loading…
↗
22
646142120100
Spring, pilot adjusting
Loading…
↗
23
6F5143970000
O-ring
Loading…
↗
24
66M148270000
Filter
Loading…
↗
26
66M141570000
Cover Mixing
Loading…
↗
27
985800300500
Screw, pan head(78g)
Loading…
↗
28
6G8144570000
Plug
Loading…
↗