Yamaha Outboard Parts - Carburetor 2 - 90AETOL (2000) | Flood Marine
New Search
Parts
New Outboards
Home
90AETOL (2000)
Carburetor 2
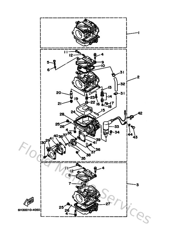
Diagram: Carburetor 2
Parts List
Reference
Description
Price
1
6H1143010700
Carburetor assembly 1
Loading…
↗
2
6H1143020700
Carburetor assembly 2
Loading…
↗
3
6H1143030700
Carburetor assembly 3
Loading…
↗
4
985800401400
Screw, pan head(ga5)
Loading…
↗
5
63V145230000
Screw, stop
Loading…
↗
6
905011032600
Spring coil(663)(carb)
Loading…
↗
7
6H2145780000
Collar
Loading…
↗
8
6H4141460000
Plate
Loading…
↗
9
6H3141461000
Plate
Loading…
↗
10
6H4141470000
O-ring
Loading…
↗
11
692149230000
Screw, adjusting
Loading…
↗
12
697145550000
Spring
Loading…
↗
13
932100422800
O-ring (371)
Loading…
↗
14
692145900000
Needle valve assembly
Loading…
↗
15
6H4145480000
Pin, float arm
Loading…
↗
16
985800400800
Screw, pan head (713)
Loading…
↗
17
633141590000
Clip
Loading…
↗
18
676141860000
Pin, valve
Loading…
↗
19
6H4149850100
Float
Loading…
↗
20
6H1149477500
Jet, needle
Loading…
↗
21
6H1149433900
Jet, main (#160)
Loading…
↗
22
679149660000
Rubber cap
Loading…
↗
23
6H1149481800
Jet (#78)
Loading…
↗
24
6H4149840000
Gasket, float chamber
Loading…
↗
25
6H3149920000
Screw, drain
Loading…
↗
26
932100423000
O-ring (371)
Loading…
↗
27
6H4149800000
Body, float chamber
Loading…
↗
28
6H3149801000
Body, float chamber
Loading…
↗
29
6H3244521000
Cover
Loading…
↗
30
6H4145670000
Screw
Loading…
↗
31
6H3141370000
Clip
Loading…
↗
32
6H3143490000
Pipe
Loading…
↗
33
6H3143800000
Prime starter assembly
Loading…
↗
35
953800360000
Nut (6g8)
Loading…
↗
36
989800300600
Screw, bind(6g1)
Loading…
↗
37
6L5244210000
Valve, check
Loading…
↗
38
6H4244130000
Body 2
Loading…
↗
39
6H4244860000
O-ring
Loading…
↗
40
6H3244111000
Diaphragm
Loading…
↗
41
6H3244341000
Gasket, body
Loading…
↗
42
904651814700
Clamp
Loading…
↗
43
970130601200
Bolt(gh1)
Loading…
↗
44
929030660000
Washer, plain (646)
Loading…
↗