Yamaha Outboard Parts - Control - 225AETOL (1987) | Flood Marine
New Search
Parts
New Outboards
Home
225AETOL (1987)
Control
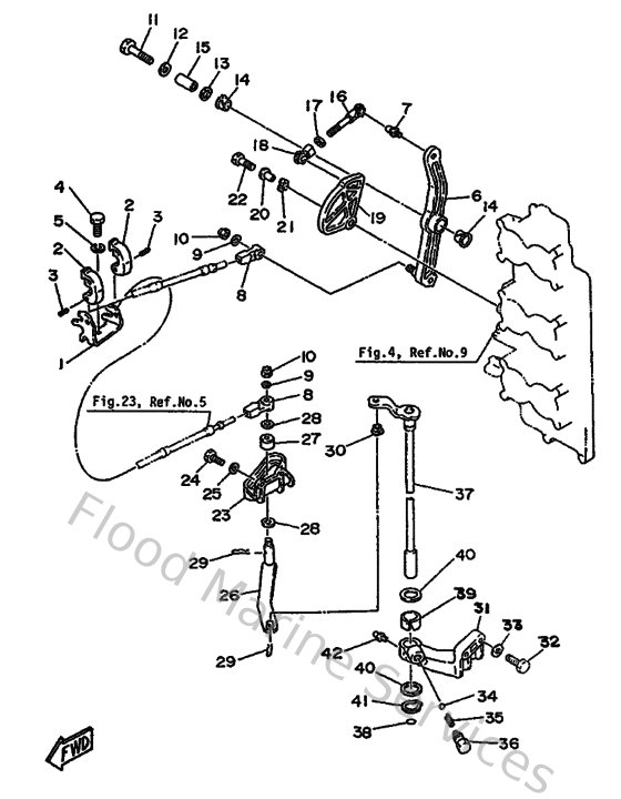
Diagram: Control
Parts List
Reference
Description
Price
1
6E5485310000
Bracket, remote control
Loading…
↗
2
6E5485380000
Clamp, cable
Loading…
↗
3
916903001200
Pin, spring
Loading…
↗
4
973130802000
Bolt(6td)
Loading…
↗
5
929030810000
Ybs67-8 washer, spring
Loading…
↗
6
6K7416320194
Lever, Magneto Control
Loading…
↗
7
663855180000
Joint, ball
Loading…
↗
8
6E5483440000
Cable end, remote control
Loading…
↗
9
929030620000
Ybs66-6 washer, plain
Loading…
↗
10
901850606200
Nut selflocking (656)
Loading…
↗
11
973130804500
Bolt
Loading…
↗
12
9020108M6100
Washer Plate (6E5)
Loading…
↗
13
9020612M0000
Washer, wave (676)
Loading…
↗
14
903861206900
Bush(666)
Loading…
↗
15
9038708M1600
Collar
Loading…
↗
16
6K7412110000
Link, accel.
Loading…
↗
17
953030560000
Nut, hexagon (663)
Loading…
↗
18
6H1412370000
Joint, link
Loading…
↗
20
9038706M2900
Coller (6a0)
Loading…
↗
21
9020610M0400
Washer, wave (676)
Loading…
↗
22
973130602500
Bolt
Loading…
↗
23
6E54411700EJ
Bracket
Loading…
↗
24
970800602000
Bolt(7u8)
Loading…
↗
25
929030660000
Washer, plain (646)
Loading…
↗
26
6E5441210000
Lever, Shift Rod
Loading…
↗
27
6E5441220000
Bushing, shift rod lever
Loading…
↗
28
9020208M2000
Washer, plate (6e5)
Loading…
↗
29
904681800800
Clip 620436610000
Loading…
↗
30
9038606M1200
Bushing (688)
Loading…
↗
31
6E54411801EJ
Bracket 2
Loading…
↗
32
973130803000
Bolt
Loading…
↗
33
929901010000
Ybs67-10 washer, spring
Loading…
↗
34
9350104M0200
Ball (697)
Loading…
↗
35
905011208200
Spring 6484411600
Loading…
↗
36
648427150000
Bushing 2
Loading…
↗
37
6E5441200100
Handle gear shift assembly
Loading…
↗
38
932100935000
O-ring
Loading…
↗
39
9038616M6600
Bush(6e5)
Loading…
↗
40
902021606100
Washer, plate(663)
Loading…
↗
41
934101600600
Circlip
Loading…
↗
42
937000600400
Nipple, grease(6a1)
Loading…
↗