Yamaha Outboard Parts - Control - L150FETOL (2001) | Flood Marine
New Search
Parts
New Outboards
Home
L150FETOL (2001)
Control
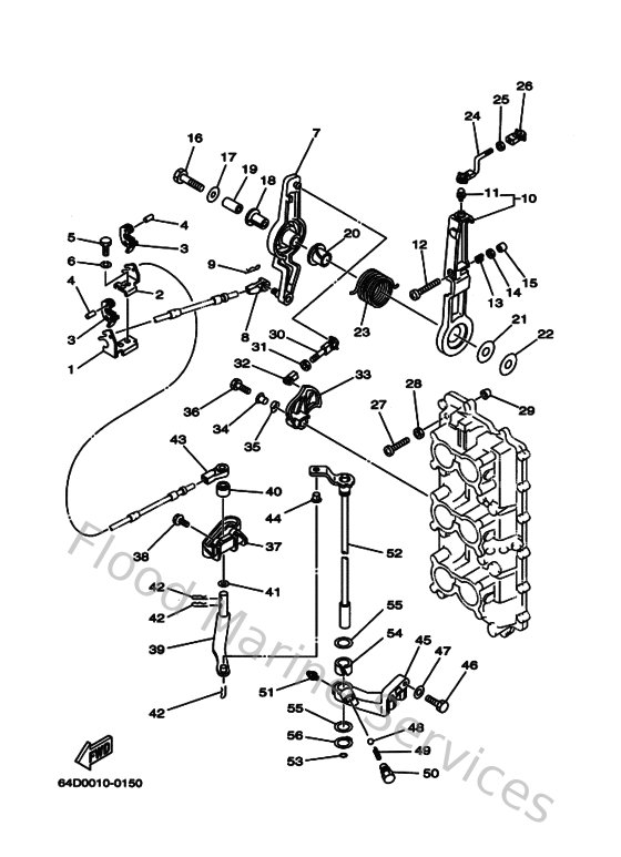
Diagram: Control
Parts List
Reference
Description
Price
1
64D485310000
Bracket, remote control 1
Loading…
↗
2
64D485320000
Bracket, remote control 2
Loading…
↗
3
6E5485380000
Clamp, cable
Loading…
↗
4
916903001200
Pin, spring
Loading…
↗
5
970950802000
Bolt, hexagon
Loading…
↗
6
929900810000
Ybs67-8 washer, spring
Loading…
↗
7
61H41632021S
Lever, magneto control
Loading…
↗
8
6E5483440000
Cable end, remote control
Loading…
↗
9
904681800800
Clip 620436610000
Loading…
↗
10
6G541631011S
Lever, magneto control
Loading…
↗
11
663855180000
Joint, ball
Loading…
↗
12
901570601300
Screw, pan head(697)
Loading…
↗
13
9050116M1200
Spring, compression (688)
Loading…
↗
14
953030660000
Nut(661)
Loading…
↗
15
688441940000
Cap
Loading…
↗
16
970130804500
Bolt
Loading…
↗
17
9020108M5400
Washer, plate (6e5)
Loading…
↗
18
903861208900
Bushing(663)
Loading…
↗
19
9038708M1600
Collar
Loading…
↗
20
9038622M1300
Bushing (688)
Loading…
↗
21
902021209200
Washer, plate(663)
Loading…
↗
22
9020108M1300
Washer plate (682)
Loading…
↗
23
9050829M1200
Spring (6e5)
Loading…
↗
24
6G5416360100
Rod, magneto control
Loading…
↗
25
953800560000
Nut, hexagon (663)
Loading…
↗
26
662412370100
Joint, link
Loading…
↗
27
9015706M0000
Screw, pan head(6h4)
Loading…
↗
30
6G5412110100
Link, accel
Loading…
↗
33
6G5412130000
Cam, accel
Loading…
↗
34
9038706M2900
Coller (6a0)
Loading…
↗
35
9020610M0400
Washer, wave (676)
Loading…
↗
36
970950602500
Bolt
Loading…
↗
37
6E544117001S
Bracket
Loading…
↗
38
9011906MA200
Bolt, with washer
Loading…
↗
39
68F441210000
Lever, shift rod
Loading…
↗
40
6E5441220000
Bushing, shift rod lever
Loading…
↗
41
9020208M2000
Washer, plate (6e5)
Loading…
↗
44
9038606M1200
Bushing (688)
Loading…
↗
45
6E5441180194
Bracket 2
Loading…
↗
46
970240803000
Bolt
Loading…
↗
47
929030860000
Washer, plain (663)
Loading…
↗
48
9350104M0200
Ball (697)
Loading…
↗
49
905011208200
Spring 6484411600
Loading…
↗
50
648427150000
Bushing 2
Loading…
↗
51
9370006M0300
Nipple, grease(6a1)
Loading…
↗
52
6E5441202400
Handle gear shift assembly
Loading…
↗
53
932100916500
O-ring
Loading…
↗
54
9038616M6600
Bush(6e5)
Loading…
↗
55
902021606100
Washer, plate(663)
Loading…
↗
56
934101600600
Circlip
Loading…
↗