Yamaha Outboard Parts - Controle - 100AETO (1998) | Flood Marine
New Search
Parts
New Outboards
Home
100AETO (1998)
Controle
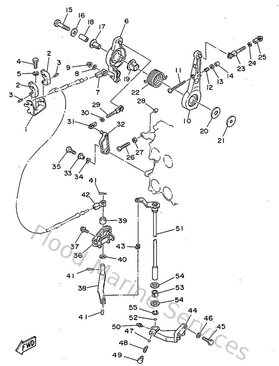
Diagram: Controle
Parts List
Reference
Description
Price
1
6E5485310000
Bracket, remote control
Loading…
↗
2
6E5485380000
Clamp, cable
Loading…
↗
3
916903001200
Pin, spring
Loading…
↗
4
970950802000
Bolt, hexagon
Loading…
↗
5
929950810000
Ybs67-8 washer, spring
Loading…
↗
6
6E5416320294
Lever, magneto control
Loading…
↗
7
6E5483440000
Cable end, remote control
Loading…
↗
8
929900620000
Ybs66-6 washer, plain
Loading…
↗
9
9018506M0700
Nut, self-locking(6e5)
Loading…
↗
10
6E5416310194
Lever, magneto control
Loading…
↗
11
9015706M1100
Screw, pan head(697)
Loading…
↗
12
9050116M1200
Spring, compression (688)
Loading…
↗
13
953800660000
Nut(661)
Loading…
↗
14
688441940000
Cap
Loading…
↗
15
970130804500
Bolt
Loading…
↗
16
9020108M5400
Washer, plate (6e5)
Loading…
↗
17
903861208900
Bushing(663)
Loading…
↗
18
9038708M1600
Collar
Loading…
↗
19
9038622M1300
Bushing (688)
Loading…
↗
20
902021209200
Washer, plate(663)
Loading…
↗
21
9020108M1300
Washer plate (682)
Loading…
↗
22
9050829M1200
Spring (6e5)
Loading…
↗
23
6E5416360100
Rod, magneto control
Loading…
↗
24
953800560000
Nut, hexagon (663)
Loading…
↗
25
6H1412370000
Joint, link
Loading…
↗
29
688416360000
Rod 1
Loading…
↗
32
6E5412130000
Cam, accel.
Loading…
↗
33
9038706M2900
Coller (6a0)
Loading…
↗
34
9020610M0400
Washer, wave (676)
Loading…
↗
35
970950602500
Bolt
Loading…
↗
36
6E5441170094
Bracket
Loading…
↗
37
970800602000
Bolt(7u8)
Loading…
↗
38
6E5441210100
Lever, shift rod
Loading…
↗
39
6E5441220000
Bushing, shift rod lever
Loading…
↗
40
9020208M2000
Washer, plate (6e5)
Loading…
↗
41
904681800800
Clip 620436610000
Loading…
↗
43
9038606M1200
Bushing (688)
Loading…
↗
44
6E5441180194
Bracket 2
Loading…
↗
45
970130803000
Bolt
Loading…
↗
46
929900860000
Washer, plain (663)
Loading…
↗
47
9350104M0200
Ball (697)
Loading…
↗
48
905011208200
Spring 6484411600
Loading…
↗
49
648427150000
Bushing 2
Loading…
↗
50
9370006M0300
Nipple, grease(6a1)
Loading…
↗
51
6E5441200300
Handle gear shift assembly
Loading…
↗
52
932100935000
O-ring
Loading…
↗
53
9038616M6600
Bush(6e5)
Loading…
↗
54
902021606100
Washer, plate(663)
Loading…
↗
55
990091640000
Circlip(13t)
Loading…
↗