Yamaha Outboard Parts - Crankshaft & Piston - 115CETO (2001) | Flood Marine
New Search
Parts
New Outboards
Home
115CETO (2001)
Crankshaft & Piston
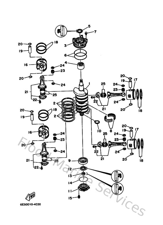
Diagram: Crankshaft & Piston
Parts List
Reference
Description
Price
1
6N7114110000
Crankshaft
Loading…
↗
2
6E5114470000
Seal, ring
Loading…
↗
3
6R315163001S
Housing, bearing 1
Loading…
↗
4
93311940U300
Brg,cyl-cal roller 36g (6e5)
Loading…
↗
5
9310240M1400
Oil seal(61a)
Loading…
↗
6
932110400100
O-ring
Loading…
↗
7
9011906MA200
Bolt, with washer
Loading…
↗
8
93310954U100
Bearing, cylindrical(64c)
Loading…
↗
9
93306208U000
Brg,r-b 6208 80mm 345g (6e5)
Loading…
↗
10
9341040M0300
Circlip(n02)
Loading…
↗
11
6G5153590094
Housing, oil seal
Loading…
↗
12
9310235M1300
Oil seal (6e5)
Loading…
↗
13
9310122M1500
Oil seal (6e5)
Loading…
↗
14
9321074M3500
O-ring (6e5)
Loading…
↗
16
6R5116361100
Piston (0.50mm o/s)
Loading…
↗
17
6R5116421193
Piston 2 (std)
Loading…
↗
18
64D116050200
Piston ring set (0.50mm o/s)
Loading…
↗
19
6R5116331000
Pin, piston
Loading…
↗
20
6R5116341000
Clip, piston pin
Loading…
↗
21
6R5116501000
Connecting kit
Loading…
↗
22
901090802200
Bolt
Loading…
↗
23
93310323V600
Bearing
Loading…
↗
24
9020123M0100
Washer, plate(6g6)
Loading…
↗
25
93310836V200
Brg, cyl-cal roller (6e5)
Loading…
↗