Yamaha Outboard Parts - Crankshaft & Piston - 20DMHO (1995) | Flood Marine
New Search
Parts
New Outboards
Home
20DMHO (1995)
Crankshaft & Piston
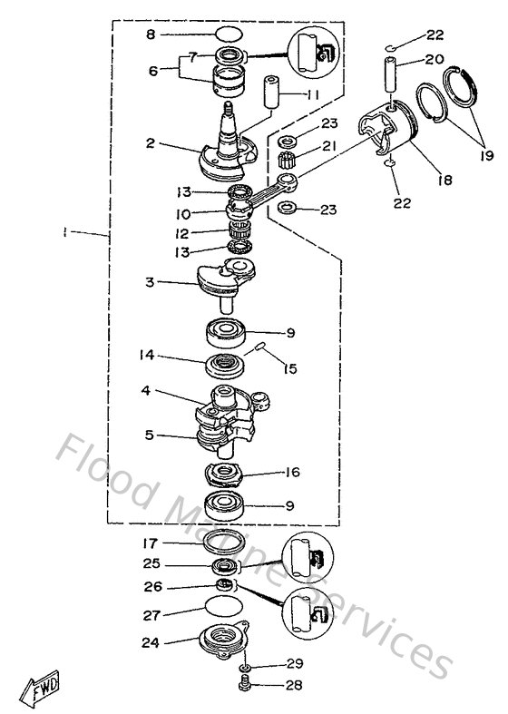
Diagram: Crankshaft & Piston
Parts List
Reference
Description
Price
1
6L2114001000
Crankshaft assembly
Loading…
↗
2
6L2114120000
Crank 1
Loading…
↗
3
6L2114220000
Crank 2
Loading…
↗
4
6L2114320000
Crank 3
Loading…
↗
5
6L2114420000
Crank 4
Loading…
↗
6
93311632U700
Bearing, cylindrical(6j8)
Loading…
↗
7
9310226M2700
Oil seal(6j8)
Loading…
↗
8
932104215900
O-ring (647)
Loading…
↗
9
93306305U300
Bearing(6j8)
Loading…
↗
10
6L2116510000
Rod, connecting
Loading…
↗
11
6L2116810000
Pin, crank 1
Loading…
↗
12
93310424W900
Bearing, cylindrical(6l2)
Loading…
↗
13
9020924M1500
Washer(6l2)
Loading…
↗
14
6L2115150000
Seal, labyrinth 1
Loading…
↗
15
916903001000
Pin, spring (663)
Loading…
↗
16
6J8115360000
Gear, drive
Loading…
↗
17
902015030600
Washer plate 648115870000
Loading…
↗
18
6L2116350000
Piston (0.25mm o/s)
Loading…
↗
19
6L2116100000
Piston ring set (std)
Loading…
↗
20
648116330000
Pin,piston
Loading…
↗
21
9360218M1200
Pin, dowel(6l2)
Loading…
↗
22
934502002600
Clip 6041163400
Loading…
↗
23
902011852200
Washer (656)
Loading…
↗
24
6L215396005B
Housing, Oil Seal
Loading…
↗
25
931022514200
Oil seal (24.8x38x7-662)
Loading…
↗
26
9310113M3700
Oil seal(6a4)
Loading…
↗
27
9321056M8000
O-ring(6j8)
Loading…
↗
28
970950601600
Bolt, hexagon deep recess
Loading…
↗
29
929900660000
Washer, plain (646)
Loading…
↗