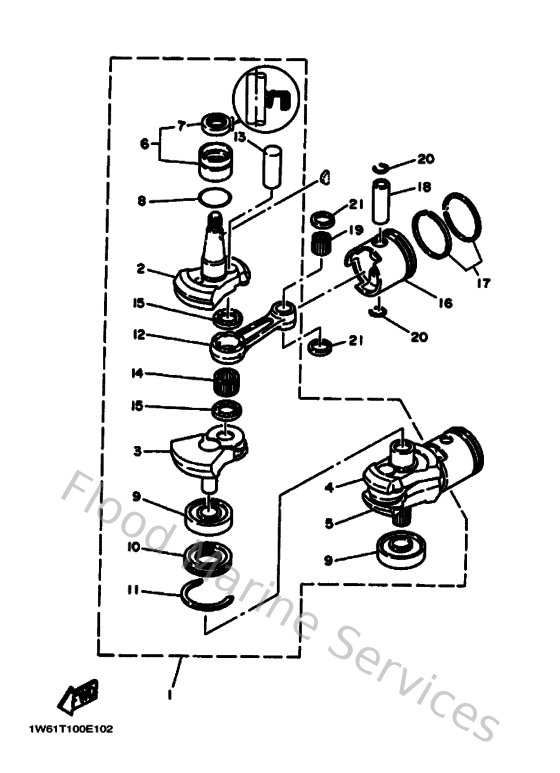
Yamaha Outboard Parts - Crankshaft & Piston - 25VMH (1998) | Flood Marine

Diagram: Crankshaft & Piston

Diagram