Yamaha Outboard Parts - Crankshaft & Piston - 40HM (1987) | Flood Marine
New Search
Parts
New Outboards
Home
40HM (1987)
Crankshaft & Piston
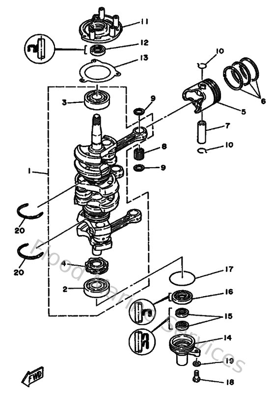
Diagram: Crankshaft & Piston
Parts List
Reference
Description
Price
1
6H4114001200
Crankshaft assembly
Loading…
↗
2
933063051000
Bearing
Loading…
↗
3
93306305U800
Bearing(6h4)
Loading…
↗
4
6H4115360000
Gear, drive
Loading…
↗
5
6H4116360900
Piston 2 O/s (2Nd O.s.)
Loading…
↗
6
6H4116100000
Piston ring set (std)
Loading…
↗
7
648116330000
Pin,piston
Loading…
↗
8
9360220M0200
Pin, dowel b (664)
Loading…
↗
9
6H4116410000
Washer, piston pin
Loading…
↗
10
6H4116340100
Clip, piston pin
Loading…
↗
11
6H4153590194
Housing, Oil Seal
Loading…
↗
12
931022309600
Oil seal (23x38x7-648)
Loading…
↗
13
6H4153690000
Gasket, oil seal housing
Loading…
↗
14
6H415396029M
Housing, oil seal
Loading…
↗
15
9310116M3600
Oil seal(6a8)
Loading…
↗
16
9310225M2800
Oil seal(6h4)
Loading…
↗
17
9321058M2100
O-ring (683)
Loading…
↗
18
973130602000
Bolt(7u8)
Loading…
↗
19
929900660000
Washer, plain (646)
Loading…
↗
20
934406205700
Cir clip (656)
Loading…
↗