Yamaha Outboard Parts - Cylinder & Crankcase - 150AETOL (2001) | Flood Marine
New Search
Parts
New Outboards
Home
150AETOL (2001)
Cylinder & Crankcase
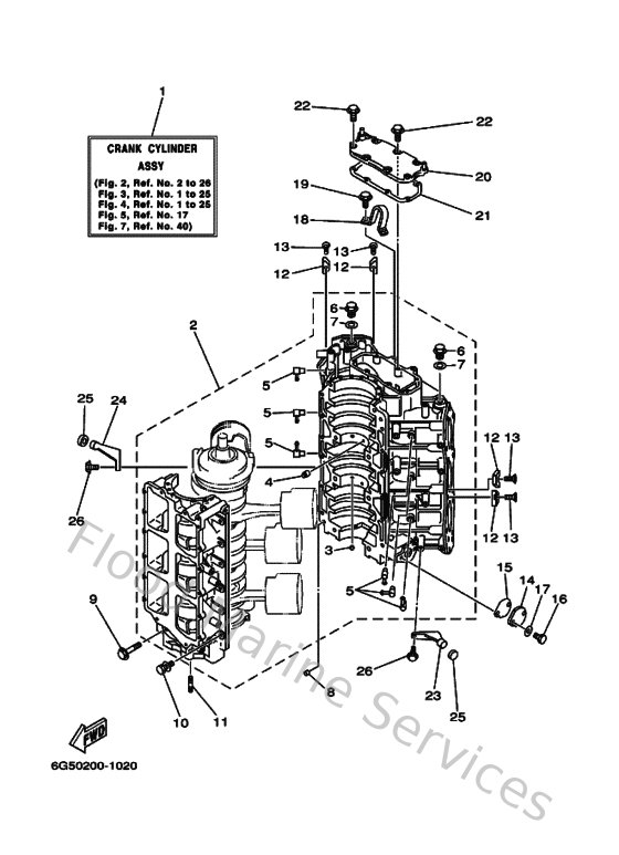
Diagram: Cylinder & Crankcase
Parts List
Reference
Description
Price
1
64CW0090021S
Crank cylinder assembly
Loading…
↗
2
64C15100211S
Crankcase assembly
Loading…
↗
3
624113790000
Valve, check
Loading…
↗
4
663115180100
Lock, bearing
Loading…
↗
5
646113700000
Check valve assembly
Loading…
↗
6
9034014M0000
Plug, straight screw(62y)
Loading…
↗
7
904301411500
Gasket (663)
Loading…
↗
8
936081206300
Pin, dowel (626)
Loading…
↗
9
9010510M2000
Bolt (6e5)
Loading…
↗
10
9011908M9400
Bolt, with washer
Loading…
↗
11
9011608M4500
Bolt, stud (6e5)
Loading…
↗
12
6E5113250000
Anode
Loading…
↗
13
987800401500
Screw, flat head(ga5)
Loading…
↗
14
6R31131M0100
Cover
Loading…
↗
15
6R3113970100
Gasket
Loading…
↗
16
970130601600
Bolt, hexagon deep recess
Loading…
↗
17
929030660000
Washer, plain (646)
Loading…
↗
18
6E5111190100
Hanger, engine
Loading…
↗
19
9011908MA300
Bolt, with washer
Loading…
↗
20
6E511371001S
Cover
Loading…
↗
21
6E511381A200
Gasket 1
Loading…
↗
22
9011906MA200
Bolt, with washer
Loading…
↗
23
6E542761001S
Stopper
Loading…
↗
24
6E542762001S
Stopper
Loading…
↗
25
68F445330000
Damper, upper mount rubber
Loading…
↗