Yamaha Outboard Parts - Cylinder & Crankcase - 150LETOL (2001) | Flood Marine
New Search
Parts
New Outboards
Home
150LETOL (2001)
Cylinder & Crankcase
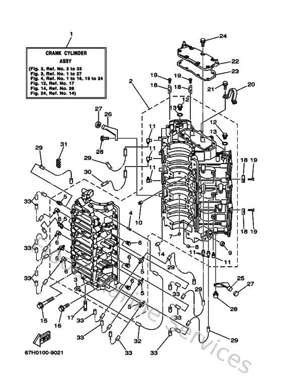
Diagram: Cylinder & Crankcase
Parts List
Reference
Description
Price
1
67MW0090111S
Crank Cylinder assembly
Loading…
↗
2
67M15100001S
Crankcase assembly
Loading…
↗
3
6E5113720000
Nipple, hose
Loading…
↗
4
624144850000
Pipe, joint
Loading…
↗
5
6F6113720100
Nipple, hose
Loading…
↗
6
650113720000
Nipple, hose
Loading…
↗
7
624113790000
Valve, check
Loading…
↗
8
9038406M0700
Bush, bimetal formed(6r3)
Loading…
↗
9
903841401100
Bush, bimetal formed
Loading…
↗
10
663115180100
Lock, bearing
Loading…
↗
11
646113700000
Check valve assembly
Loading…
↗
12
9034014M0600
Plug, straight screw(62y)
Loading…
↗
13
904301411500
Gasket (663)
Loading…
↗
14
936081206300
Pin, dowel (626)
Loading…
↗
15
9010510M2000
Bolt (6e5)
Loading…
↗
16
9011908M9400
Bolt, with washer
Loading…
↗
17
9011608M1400
Bolt, stud (6e5)
Loading…
↗
18
6E5113250000
Anode
Loading…
↗
19
987800401500
Screw, flat head(ga5)
Loading…
↗
20
67H111190100
Hanger, engine
Loading…
↗
21
9011908MA300
Bolt, with washer
Loading…
↗
22
6K711371011S
Cover
Loading…
↗
23
6E511381A200
Gasket 1
Loading…
↗
24
9011906MA200
Bolt, with washer
Loading…
↗
25
6E542761001S
Stopper
Loading…
↗
26
6E542762001S
Stopper
Loading…
↗
27
68F445330100
Damper, upper mount rubber
Loading…
↗
29
9044507MA400
Hose (l390)
Loading…
↗
30
9044507M9000
Hose (l390)
Loading…
↗
31
9046407M0500
Clamp (6g5)
Loading…
↗
32
9044507M1000
Hose (L770)
Loading…
↗
33
9044507MA600
Hose (l200)
Loading…
↗