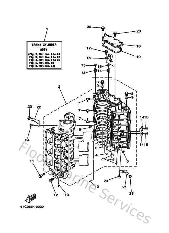
Yamaha Outboard Parts - Cylinder & Crankcase - 200FETOL (2000) | Flood Marine

Diagram: Cylinder & Crankcase

Diagram