Yamaha Outboard Parts - Cylinder & Crankcase - 50HM (2000) | Flood Marine
New Search
Parts
New Outboards
Home
50HM (2000)
Cylinder & Crankcase
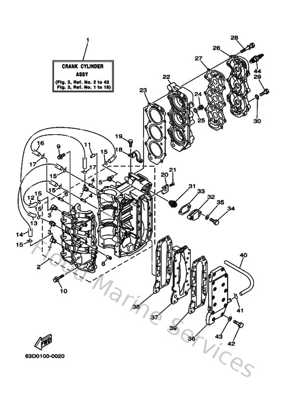
Diagram: Cylinder & Crankcase
Parts List
Reference
Description
Price
1
63DW0090304D
Crank Cylinder assembly
Loading…
↗
2
6H4151003094
Crankcase assembly
Loading…
↗
3
650113700000
Check valve assembly
Loading…
↗
4
624144850000
Pipe, joint
Loading…
↗
5
6H4113720000
Nipple, hose
Loading…
↗
7
688113700000
Check valve assembly
Loading…
↗
9
9011908M1900
Bolt, with washer
Loading…
↗
10
9011906M1300
Bolt, with washer (682)
Loading…
↗
11
936061201900
Pin, dowel (614)
Loading…
↗
12
9044507M4600
Hose (l390)
Loading…
↗
13
9044507M9000
Hose (l390)
Loading…
↗
14
9044507M2400
Hose (l390)
Loading…
↗
15
904670601600
Clip (655)
Loading…
↗
16
9044507MA300
Hose (l200)
Loading…
↗
18
6H4111190000
Hanger, engine
Loading…
↗
19
970950601400
Bolt(gj3)
Loading…
↗
20
688113250000
Anode
Loading…
↗
21
987800401600
Screw, flat head(ga5)
Loading…
↗
22
63D111110094
Head, cylinder 1
Loading…
↗
23
63D11181A200
Gasket, cylinder head 1
Loading…
↗
24
9034014M0000
Plug, straight screw(62y)
Loading…
↗
25
904301411500
Gasket (663)
Loading…
↗
26
63D11191009M
Cover, cylinder head 1
Loading…
↗
27
63D11193A000
Gasket, head cover 1
Loading…
↗
28
9011908M2900
Bolt, with washer
Loading…
↗
29
970130602500
Bolt(62y)
Loading…
↗
30
929030660000
Washer, plain (646)
Loading…
↗
31
6E5124112000
Thermostat
Loading…
↗
32
6H412413009M
Cover, thermostat
Loading…
↗
33
6J812414A000
Gasket, cover
Loading…
↗
36
6H441113009M
Outer cover, exhaust
Loading…
↗
37
6H441111009M
Inner cover, exhaust
Loading…
↗
38
6H441112A000
Gasket, exhaust inner cover
Loading…
↗
39
6H441114A000
Gasket, exhaust outer cover
Loading…
↗
40
90445090F600
Hose (l1500)
Loading…
↗
41
904670800400
Clip, pipe 6162435600
Loading…
↗
42
970130603500
Bolt(3rv)
Loading…
↗
44
947020024700
Plug, spark (br8hs-10)
Loading…
↗