Yamaha Outboard Parts - Cylinder & Crankcase - FT8DMHSL (2001) | Flood Marine
New Search
Parts
New Outboards
Home
FT8DMHSL (2001)
Cylinder & Crankcase
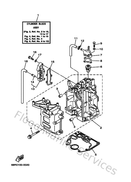
Diagram: Cylinder & Crankcase
Parts List
Reference
Description
Price
1
68TW009B004D
Cylinder Block assembly
Loading…
↗
2
68T151000094
Crankcase assembly
Loading…
↗
3
995301201600
Pin, dowel
Loading…
↗
4
9011908M2900
Bolt, with washer
Loading…
↗
5
68T113510000
Gasket, cylinder
Loading…
↗
6
66M124110000
Thermostat
Loading…
↗
7
68T12413009M
Cover, thermostat
Loading…
↗
8
6G812414A000
Gasket, cover
Loading…
↗
9
970130602000
Bolt(62y)
Loading…
↗
10
929900660000
Washer, plain (646)
Loading…
↗
11
68T124810000
Pipe 1
Loading…
↗
12
9046511M1000
Clamp
Loading…
↗
13
60RG1113001S
Outer cover, exhaust
Loading…
↗
14
6E9243780000
Pipe, Joint 4
Loading…
↗
15
68T41114A000
Gasket, exhaust outer cover
Loading…
↗
16
970130602500
Bolt(62y)
Loading…
↗
17
929030660000
Washer, plain (646)
Loading…
↗
18
68T124820000
Pipe 2
Loading…
↗