Yamaha Outboard Parts - Cylinder & Crankcase 1 - D150HETO (2001) | Flood Marine
New Search
Parts
New Outboards
Home
D150HETO (2001)
Cylinder & Crankcase 1
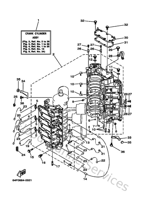
Diagram: Cylinder & Crankcase 1
Parts List
Reference
Description
Price
1
65NW0090121S
Crank cylinder assembly
Loading…
↗
2
64K15100001S
Crankcase assembly
Loading…
↗
3
6E5113720000
Nipple, hose
Loading…
↗
4
624144850000
Pipe, joint
Loading…
↗
5
6F6113720100
Nipple, hose
Loading…
↗
6
624113790000
Valve, check
Loading…
↗
7
9038406M0700
Bush, bimetal formed(6r3)
Loading…
↗
8
9038414M0900
Bush, bimetal formed(6r3)
Loading…
↗
9
663115180100
Lock, bearing
Loading…
↗
10
646113700100
Check valve assembly
Loading…
↗
11
9034014M0000
Plug, straight screw(62y)
Loading…
↗
12
904301411500
Gasket (663)
Loading…
↗
13
936081206300
Pin, dowel (626)
Loading…
↗
14
904450700600
Hose (l770)
Loading…
↗
15
9010510M2000
Bolt (6e5)
Loading…
↗
16
9011908M9400
Bolt, with washer
Loading…
↗
17
9011608M4500
Bolt, stud (6e5)
Loading…
↗
19
9044507M0900
Hose (l390)
Loading…
↗
20
9044507M1200
Hose (L390)
Loading…
↗
21
9044507M9000
Hose (l390)
Loading…
↗
23
9044507M3400
Hose (L260)
Loading…
↗
24
9046407M0500
Clamp (6g5)
Loading…
↗
25
9046407M2000
Clamp(6h0)
Loading…
↗
26
6E5113250000
Anode
Loading…
↗
27
987800401500
Screw, flat head(ga5)
Loading…
↗
28
67H111190100
Hanger, engine
Loading…
↗
29
9011908MA300
Bolt, with washer
Loading…
↗
30
6K711371011S
Cover
Loading…
↗
31
6E511381A200
Gasket 1
Loading…
↗
32
9011906MA200
Bolt, with washer
Loading…
↗
33
6E542761001S
Stopper
Loading…
↗
34
6E542762001S
Stopper
Loading…
↗
35
68F445330000
Damper, upper mount rubber
Loading…
↗