Yamaha Outboard Parts - Cylinder & Crankcase 1-2 (SWS) - L150FETOL (1996) | Flood Marine
New Search
Parts
New Outboards
Home
L150FETOL (1996)
Cylinder & Crankcase 1-2 (SWS)
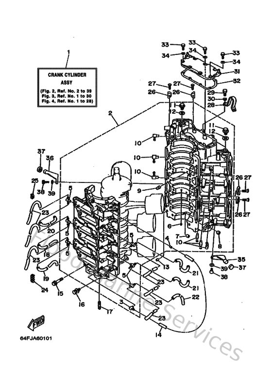
Diagram: Cylinder & Crankcase 1-2 (SWS)
Parts List
Reference
Description
Price
1
64EW0090S04D
Crank Cylinder Assembly (Ref. #2~39, Cylinder- Crankca)
Loading…
↗
2
64E15100S094
Crankcase Assembly
Loading…
↗
3
6E5113720000
Nipple, hose
Loading…
↗
4
624144850000
Pipe, joint
Loading…
↗
5
6F6113720100
Nipple, hose
Loading…
↗
6
624113790000
Valve, check
Loading…
↗
7
9038406M0700
Bush, bimetal formed(6r3)
Loading…
↗
8
9038414M0900
Bush, bimetal formed(6r3)
Loading…
↗
9
663115180100
Lock, bearing
Loading…
↗
10
646113700100
Check valve assembly
Loading…
↗
11
9034014M0000
Plug, straight screw(62y)
Loading…
↗
12
904301411500
Gasket (663)
Loading…
↗
13
936081206300
Pin, dowel (626)
Loading…
↗
14
9044507M1000
Hose (L770)
Loading…
↗
15
9010510M2000
Bolt (6e5)
Loading…
↗
17
9011608M4500
Bolt, stud (6e5)
Loading…
↗
18
9044507M1100
Hose (l770)
Loading…
↗
19
9044507M0900
Hose (l390)
Loading…
↗
20
9044507M9000
Hose (l390)
Loading…
↗
21
9044507M0800
Hose (l390)
Loading…
↗
23
9044507M3400
Hose (L260)
Loading…
↗
24
9046407M0500
Clamp (6g5)
Loading…
↗
25
9046407M2000
Clamp(6h0)
Loading…
↗
26
6E5113250000
Anode
Loading…
↗
27
987800401500
Screw, flat head(ga5)
Loading…
↗
28
6E9111190000
Hanger, engine
Loading…
↗
29
970800802000
Bolt(6td)
Loading…
↗
30
929900810000
Ybs67-8 washer, spring
Loading…
↗
31
6K711371019M
Cover
Loading…
↗
32
6E511381A200
Gasket 1
Loading…
↗
33
970130602000
Bolt(62y)
Loading…
↗
34
929900660000
Washer, plain (646)
Loading…
↗
35
6E542761001S
Stopper
Loading…
↗
36
6E5427620094
Stopper
Loading…
↗
37
663445330000
Damper, upper mount
Loading…
↗