Yamaha Outboard Parts - Demarreur Electrique - 115BETO (1996) | Flood Marine
New Search
Parts
New Outboards
Home
115BETO (1996)
Demarreur Electrique
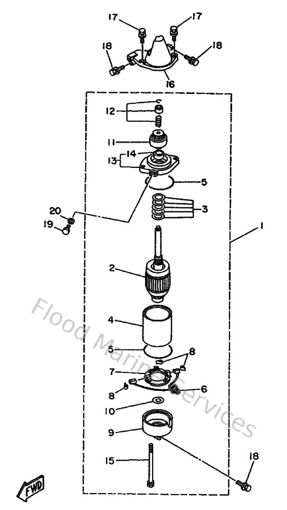
Diagram: Demarreur Electrique
Parts List
Reference
Description
Price
1
6E5818001200
Starting motor assembly
Loading…
↗
2
6E5818501100
Armature assembly
Loading…
↗
3
6E5818091000
Washer Kit
Loading…
↗
4
6E5818101000
Stator assembly
Loading…
↗
5
6E5818471000
O-ring
Loading…
↗
6
6E5818011000
Brush ass'y
Loading…
↗
7
6E5818401000
Brush holder ass'y
Loading…
↗
8
6E5818131000
Spring Brush
Loading…
↗
9
6E5818201100
Rear Bracket assembly
Loading…
↗
10
6E5818240000
Washer 2
Loading…
↗
11
6E5818071100
Pinion assembly
Loading…
↗
12
61H818570000
Retainer
Loading…
↗
13
6E5818301000
Front Bracket assembly
Loading…
↗
14
688818310000
Metal, front
Loading…
↗
15
6E5818261000
Bolt
Loading…
↗
16
6E5818220298
Bracket, starting motor
Loading…
↗
17
9011908M7600
Bolt, with washer(6e5)
Loading…
↗
18
9011908M7700
Bolt, with washer(6e5)
Loading…
↗
19
973950801600
Bolt
Loading…
↗
20
929900860000
Washer, plain (663)
Loading…
↗