Yamaha Outboard Parts - Demarreur Electrique - 40QMH (1995) | Flood Marine
New Search
Parts
New Outboards
Home
40QMH (1995)
Demarreur Electrique
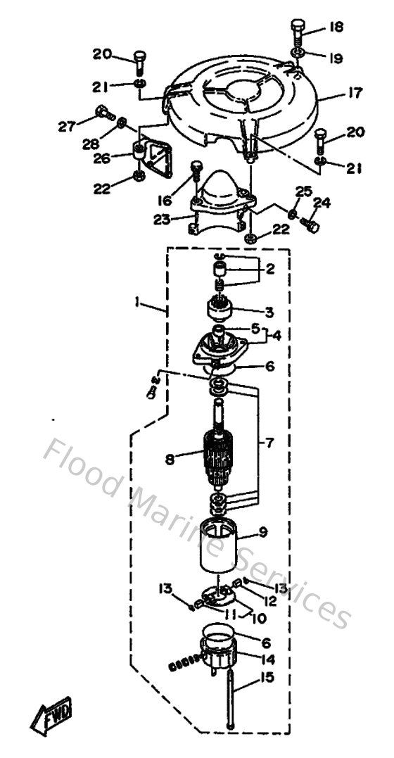
Diagram: Demarreur Electrique
Parts List
Reference
Description
Price
1
689818001300
Starting motor assembly
Loading…
↗
2
689818571100
Pinion stopper set
Loading…
↗
3
689818071200
Pinion assembly
Loading…
↗
4
689818301100
Front cover ass'y
Loading…
↗
5
689818310000
Metal, front
Loading…
↗
6
689818471100
O-ring
Loading…
↗
7
689818091100
Washer kit
Loading…
↗
8
689818501200
Armature assembly
Loading…
↗
9
689818101100
Stator ass'y
Loading…
↗
10
689818401100
Brush holder assembly
Loading…
↗
11
689818121100
Brush 2
Loading…
↗
12
689818111100
Brush 1
Loading…
↗
13
689818131000
Spring, brush
Loading…
↗
14
689818201100
Rear cover ass'y
Loading…
↗
15
689818261000
Bolt
Loading…
↗
16
9010508M2200
Bolt (6f5)
Loading…
↗
18
973950804000
Bolt, hexagon
Loading…
↗
19
929900810000
Ybs67-8 washer, spring
Loading…
↗
20
970950603500
Bolt(j52)
Loading…
↗
21
929950610000
Washer(6a1)
Loading…
↗
22
953800660000
Nut(661)
Loading…
↗
27
970950602500
Bolt
Loading…
↗
28
929900660000
Washer, plain (646)
Loading…
↗