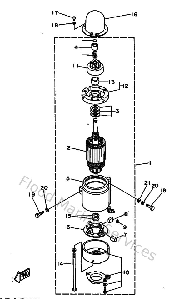
Yamaha Outboard Parts - Demarreur Electrique - 85AET (1997) | Flood Marine

Diagram: Demarreur Electrique

Diagram