Yamaha Outboard Parts - Electric Motor - 20CMH (1996) | Flood Marine
New Search
Parts
New Outboards
Home
20CMH (1996)
Electric Motor
Diagram: Electric Motor
Parts List
Reference
Description
Price
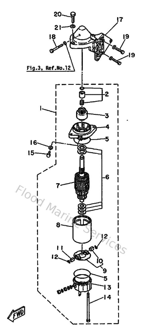
1
689818001200
Starting motor assembly
Loading…
↗
2
689818571100
Pinion stopper set
Loading…
↗
3
689818071200
Pinion assembly
Loading…
↗
4
689818301100
Front cover ass'y
Loading…
↗
5
689818441100
O-ring
Loading…
↗
6
689818091100
Washer kit
Loading…
↗
7
689818501200
Armature assembly
Loading…
↗
8
689818101100
Stator ass'y
Loading…
↗
9
689818401100
Brush holder assembly
Loading…
↗
10
689818121100
Brush 2
Loading…
↗
11
689818111100
Brush 1
Loading…
↗
12
689818131000
Spring, brush
Loading…
↗
13
689818201100
Rear cover ass'y
Loading…
↗
14
689818261000
Bolt
Loading…
↗
15
973700801200
Bolt, hexagon
Loading…
↗
16
929030860000
Washer, plain (663)
Loading…
↗
17
695157724094
Stay 2
Loading…
↗
18
970800605000
Bolt(jf7)
Loading…
↗
19
973950603000
Bolt(jf7)
Loading…
↗
20
973950803000
Bolt, hexagon (fj1)
Loading…
↗