Yamaha Outboard Parts - Electric Motor - 40HM (1985) | Flood Marine
New Search
Parts
New Outboards
Home
40HM (1985)
Electric Motor
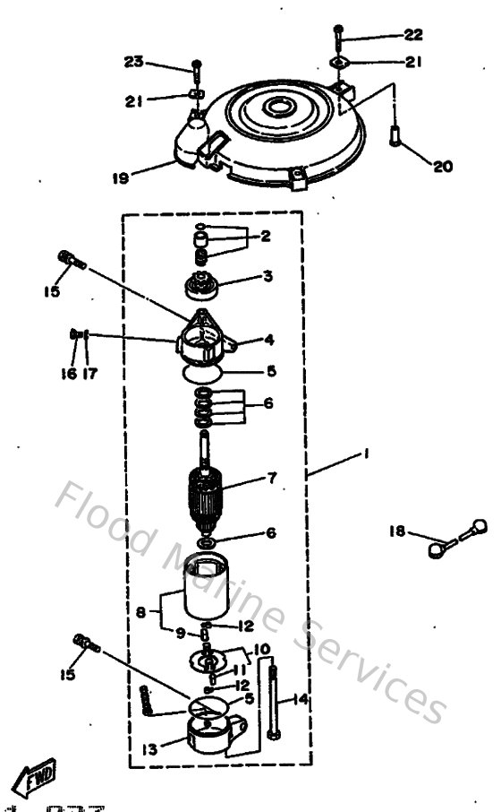
Diagram: Electric Motor
Parts List
Reference
Description
Price
1
6H4818001000
Starting Motor assembly
Loading…
↗
2
689818571100
Pinion stopper set
Loading…
↗
3
6H3818071000
Pinion assembly
Loading…
↗
4
6H4818301000
Front Bracket assembly
Loading…
↗
5
689818471100
O-ring
Loading…
↗
6
689818091100
Washer kit
Loading…
↗
7
689818501100
Armature assembly
Loading…
↗
8
6H3818101000
Stator assembly
Loading…
↗
9
689818111100
Brush 1
Loading…
↗
10
689818401100
Brush holder assembly
Loading…
↗
11
689818121100
Brush 2
Loading…
↗
12
689818131000
Spring, brush
Loading…
↗
13
6H3818201100
Rear cover assembly
Loading…
↗
14
689818261000
Bolt
Loading…
↗
16
973130801600
Bolt, hexagon
Loading…
↗
17
929030860000
Washer, plain (663)
Loading…
↗
18
6H4821170000
Wire, lead
Loading…
↗
19
6H4813370000
Cover, Flywheel
Loading…
↗
20
9038706M6500
Collar (6h4)
Loading…
↗
21
9020906M0400
Washer
Loading…
↗
22
978030603500
Screw, pan head(6h4)
Loading…
↗
23
978030603000
Screw, pan head(6e0)
Loading…
↗