Yamaha Outboard Parts - Electric Motor - 9.9DMH (1987) | Flood Marine
New Search
Parts
New Outboards
Home
9.9DMH (1987)
Electric Motor
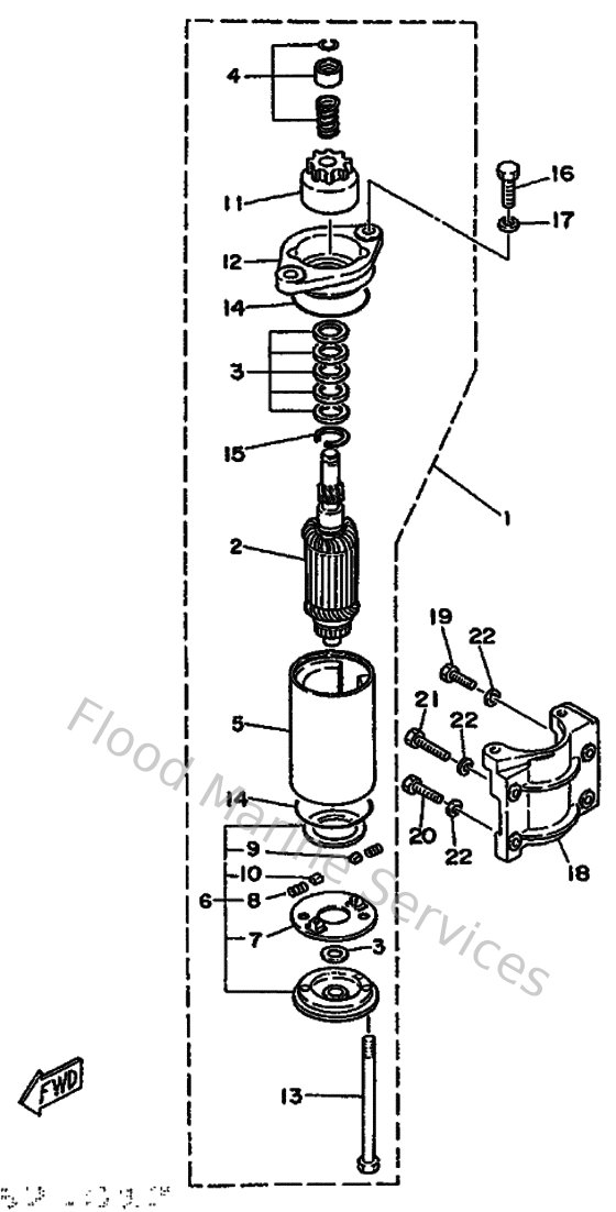
Diagram: Electric Motor
Parts List
Reference
Description
Price
1
682818001100
Starting motor assembly
Loading…
↗
2
682818501000
Armature assembly
Loading…
↗
3
682818091000
Washer kit
Loading…
↗
4
682818331000
Pinion Stopper Set
Loading…
↗
6
682818201000
Rear Cover assembly
Loading…
↗
7
682818401000
Brush Holder assembly
Loading…
↗
8
682818131000
Spring, brush
Loading…
↗
9
682818111000
Brush 1
Loading…
↗
10
682818121000
Brush 2
Loading…
↗
11
682818321000
Pinion assembly
Loading…
↗
13
682818261000
Bolt
Loading…
↗
14
682818471000
O-ring
Loading…
↗
15
682818341000
Ring
Loading…
↗
16
973130802500
Bolt (682)
Loading…
↗
17
929030860000
Washer, plain (663)
Loading…
↗
18
682818224394
Bracket, Electric Motor (682-81822-42-94)
Loading…
↗
19
9010106M2700
Bolt
Loading…
↗
20
973130602000
Bolt(7u8)
Loading…
↗
21
973130603000
Bolt
Loading…
↗
22
929030660000
Washer, plain (646)
Loading…
↗