Yamaha Outboard Parts - Electric Motor - 90AETOL (1987) | Flood Marine
New Search
Parts
New Outboards
Home
90AETOL (1987)
Electric Motor
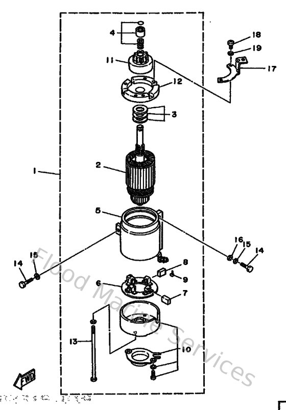
Diagram: Electric Motor
Parts List
Reference
Description
Price
1
688818001100
Starting motor assembly
Loading…
↗
2
676818501100
Armature assembly
Loading…
↗
3
676818091000
Washer kit
Loading…
↗
4
676818571000
Pinion stopper set
Loading…
↗
5
688818101100
Stator assembly
Loading…
↗
6
663818401100
Brush holder assembly
Loading…
↗
7
663818111100
Brush 1
Loading…
↗
8
663818121100
Brush 2
Loading…
↗
9
663818131000
Spring, brush
Loading…
↗
11
663818321100
Pinion assembly
Loading…
↗
12
688818301100
Front bracket assembly
Loading…
↗
13
663818261000
Bolt 1
Loading…
↗
14
973130803000
Bolt
Loading…
↗
15
929030810000
Ybs67-8 washer, spring
Loading…
↗
16
929900860000
Washer, plain (663)
Loading…
↗
17
6H1157710000
Stay 1
Loading…
↗
18
978030401000
Screw, pan head (e56)
Loading…
↗
19
929030460000
Ybs66-4 washer, plain
Loading…
↗