Yamaha Outboard Parts - Electric Parts - 15DWH (1988) | Flood Marine
New Search
Parts
New Outboards
Home
15DWH (1988)
Electric Parts
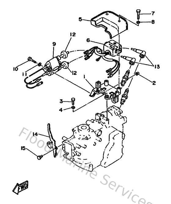
Diagram: Electric Parts
Parts List
Reference
Description
Price
1
6E7855420094
Bracket
Loading…
↗
2
6E7823170000
Damper
Loading…
↗
3
973130601600
Bolt, hexagon deep recess
Loading…
↗
4
929900660000
Washer, plain (646)
Loading…
↗
5
6E7819160000
Cover, Terminal
Loading…
↗
6
695855401200
C.d.i. unit assembly
Loading…
↗
7
973130603000
Bolt
Loading…
↗
8
929900620000
Ybs66-6 washer, plain
Loading…
↗
9
680855700900
Ignition coil assembly
Loading…
↗
12
904802516100
Grommet(656)
Loading…
↗
13
6E3823702100
Plug cap assembly
Loading…
↗
14
682813320200
Plate, Timing
Loading…
↗
15
973130601400
Bolt(gj3)
Loading…
↗