Yamaha Outboard Parts - Electrical 1 - 50DEMTO (1994) | Flood Marine
New Search
Parts
New Outboards
Home
50DEMTO (1994)
Electrical 1
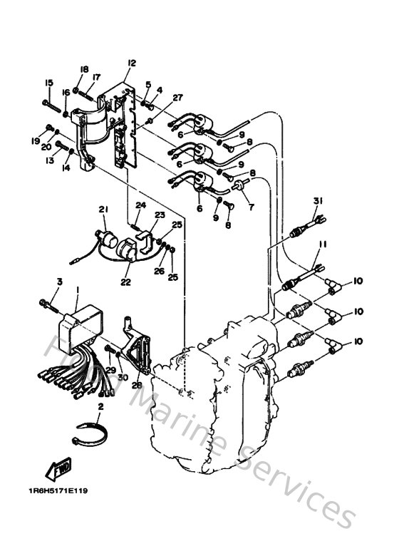
Diagram: Electrical 1
Parts List
Reference
Description
Price
1
6H5855400200
C.d.i. Unit Assembly
Loading…
↗
2
9046513M3600
Clamp(6h4)
Loading…
↗
3
9011906M5100
Bolt, with washer(6h4)
Loading…
↗
4
970950601400
Bolt(gj3)
Loading…
↗
5
929900660000
Washer, plain (646)
Loading…
↗
6
6H5855700000
Ignition coil assembly
Loading…
↗
7
904802516100
Grommet(656)
Loading…
↗
8
970800602000
Bolt(7u8)
Loading…
↗
10
6G1823702000
Plug cap assembly
Loading…
↗
11
689825600000
Thermo switch assembly
Loading…
↗
12
6H4818220298
Bracket, starting motor
Loading…
↗
13
973130603000
Bolt
Loading…
↗
15
970130805000
Bolt, hexagon
Loading…
↗
16
929900860000
Washer, plain (663)
Loading…
↗
17
956700664000
Bolt, stud(6h4)
Loading…
↗
18
9017906M2400
Nut(6j8)
Loading…
↗
21
6G1819411000
Starter relay
Loading…
↗
22
6H4819520000
Holder, relay
Loading…
↗
23
6H4819450000
Plate, switch fitting
Loading…
↗
24
9011606M2200
Bolt, stud (6h1)
Loading…
↗
25
953800660000
Nut(661)
Loading…
↗
27
9033805M1100
Plug(6h4)
Loading…
↗
28
6H4157710194
Stay 1
Loading…
↗
29
970130803000
Bolt
Loading…
↗
31
6H4825600000
Thermo switch assembly
Loading…
↗