Yamaha Outboard Parts - Electrical 1 - 50HM (2000) | Flood Marine
New Search
Parts
New Outboards
Home
50HM (2000)
Electrical 1
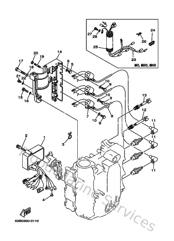
Diagram: Electrical 1
Parts List
Reference
Description
Price
1
63D855400100
C.d.i. unit assembly
Loading…
↗
2
9011906M5100
Bolt, with washer(6h4)
Loading…
↗
3
9046415M1100
Clamp (3y2)
Loading…
↗
5
970950601400
Bolt(gj3)
Loading…
↗
6
929900660000
Washer, plain (646)
Loading…
↗
7
6H5855700000
Ignition coil assembly
Loading…
↗
8
904802516100
Grommet(656)
Loading…
↗
9
970950602000
Bolt(7u8)
Loading…
↗
11
6G1823702100
Plug cap assembly
Loading…
↗
12
689825600000
Thermo switch assembly
Loading…
↗
13
6H4825600000
Thermo switch assembly
Loading…
↗
23
63D825310000
Wire, lead
Loading…
↗
24
9044610M0100
Tube (6e5)
Loading…
↗
25
6G1835570000
Tube
Loading…
↗
26
9046405M1600
Clamp(6j8)
Loading…
↗
28
929950660000
Washer, plain (646)
Loading…
↗