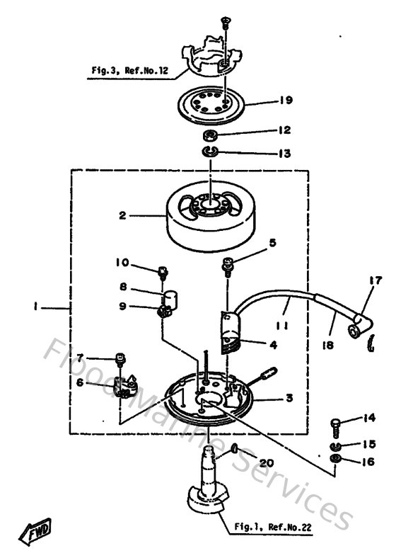
Yamaha Outboard Parts - Flywheel Housing - 2BMH (1986) | Flood Marine

Diagram: Flywheel Housing

Diagram