Yamaha Outboard Parts - Fuel - 25DMH (1987) | Flood Marine
New Search
Parts
New Outboards
Home
25DMH (1987)
Fuel
Diagram: Fuel
Parts List
Reference
Description
Price
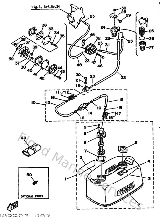
3
6Y1242558000
Graphic, Fuel Tank 8
Loading…
↗
5
6Y1246100000
Cap assembly
Loading…
↗
6
6Y1242600100
Fuel meter assembly
Loading…
↗
7
6Y1242680000
Gasket, fuel meter
Loading…
↗
9
9015705M1900
Screw, pan head
Loading…
↗
10
6Y1243060500
Fuel pipe comp. 1
Loading…
↗
11
6G1243050500
Fuel pipe joint comp. 2
Loading…
↗
12
932100828700
O-ring (655)
Loading…
↗
13
9044511M0600
Hose (l3000)
Loading…
↗
14
6Y1243600200
Primer pump assembly
Loading…
↗
15
9044511M0500
Hose (l1000)
Loading…
↗
16
650243515100
Band 1
Loading…
↗
17
6Y1243050100
Fuel pipe joint comp. 2
Loading…
↗
20
973130602000
Bolt(7u8)
Loading…
↗
21
929030660000
Washer, plain (646)
Loading…
↗
22
90445090F600
Hose (l1500)
Loading…
↗
23
904670800400
Clip, pipe 6162435600
Loading…
↗
24
655245600100
Filter assembly
Loading…
↗
25
6F5245630000
Element, filter
Loading…
↗
26
9321037M2500
O-ring (655)
Loading…
↗
28
648245660100
Bracket, Filter
Loading…
↗
29
970130601200
Bolt(gh1)
Loading…
↗
30
953030860000
Nut(6l2)
Loading…
↗
31
664243110000
Pipe, Fuel 1
Loading…
↗
32
6A0244100200
Fuel pump assembly
Loading…
↗
33
648244110000
Diaphragm
Loading…
↗
34
648244240000
Seat,spring
Loading…
↗
35
648244230000
Spring,diaphragm
Loading…
↗
36
648244340000
Gasket, body
Loading…
↗
37
6A0244210100
Valve, check
Loading…
↗
39
988130310000
Nut
Loading…
↗
40
648244350200
Gasket, body 2
Loading…
↗
41
663244110000
Diaphragm
Loading…
↗
42
648244130100
Cover, pump
Loading…
↗
43
985030502800
Ybs86-530 screw,panhead
Loading…
↗
44
929900510000
Ybs67-5 washer, spring
Loading…
↗
45
650244310000
Gasket,fuel pump
Loading…
↗
46
970950604000
Bolt (682)
Loading…
↗
48
648243120100
Pipe, fuel 1
Loading…
↗
49
6E0281000100
Tool kit
Loading…
↗
50
6E0281930094
Plug, water check
Loading…
↗