Yamaha Outboard Parts - Fuel - 25JETO (1987) | Flood Marine
New Search
Parts
New Outboards
Home
25JETO (1987)
Fuel
Diagram: Fuel
Parts List
Reference
Description
Price
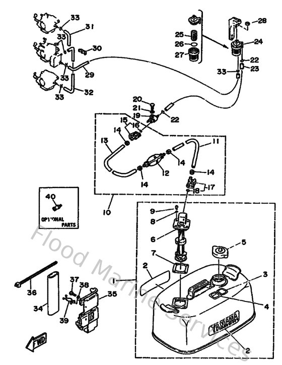
5
6Y1246100000
Cap assembly
Loading…
↗
6
6Y1242600100
Fuel meter assembly
Loading…
↗
7
6Y1242680000
Gasket, fuel meter
Loading…
↗
8
6Y1243290000
Seal
Loading…
↗
9
985860501600
Screw, pan head
Loading…
↗
10
6YL243066400
Fuel pipe comp. 1
Loading…
↗
11
9044511M0600
Hose (l3000)
Loading…
↗
12
6Y1243600200
Primer pump assembly
Loading…
↗
13
9044511M7800
Hose (l1000)
Loading…
↗
14
650243510100
Band 1
Loading…
↗
15
6G1243050000
Fuel pipe joint comp. 2
Loading…
↗
16
932100828700
O-ring (655)
Loading…
↗
17
6Y1243050600
Fuel pipe joint comp. 2
Loading…
↗
19
6G1243040000
Fuel pipe joint comp. 1
Loading…
↗
20
973130602500
Bolt
Loading…
↗
21
929900660000
Washer, plain (646)
Loading…
↗
22
904670800400
Clip, pipe 6162435600
Loading…
↗
23
9044509M0000
Hose (l180)
Loading…
↗
24
655245600100
Filter assembly
Loading…
↗
25
6F5245630000
Element, filter
Loading…
↗
26
9321037M2500
O-ring (655)
Loading…
↗
28
9017908M1500
Nut(6j8)
Loading…
↗
29
6E5243120000
Pipe 2
Loading…
↗
30
9046409M2100
Clamp(6j8)
Loading…
↗
31
688243130000
Pipe, fuel 2
Loading…
↗
32
6A4243120000
Pipe, fuel 2
Loading…
↗
34
6E0281000100
Tool kit
Loading…
↗
35
6J8281700000
Tool, holder
Loading…
↗
36
904651315400
Clamp(mf1)
Loading…
↗
37
970130801600
Bolt, hexagon
Loading…
↗
38
929900860000
Washer, plain (663)
Loading…
↗
39
9046412M1700
Clamp(6j8)
Loading…
↗
40
6E0281930094
Plug, water check
Loading…
↗