Yamaha Outboard Parts - Fuel - 80AETOL (1992) | Flood Marine
New Search
Parts
New Outboards
Home
80AETOL (1992)
Fuel
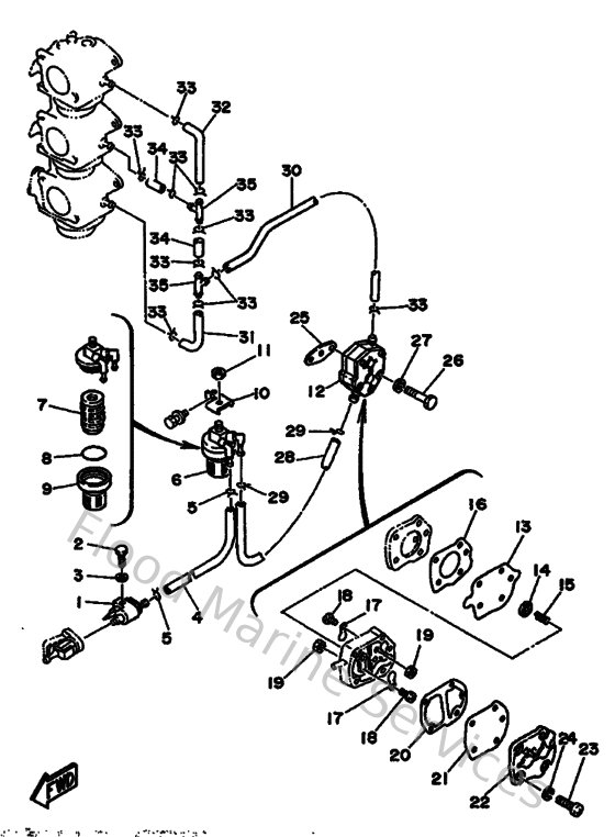
Diagram: Fuel
Parts List
Reference
Description
Price
1
6G1243040200
Fuel pipe joint comp. 1
Loading…
↗
2
973950602000
Bolt(7u8)
Loading…
↗
3
929900660000
Washer, plain (646)
Loading…
↗
4
90445092K100
Hose (l420)
Loading…
↗
5
904670800400
Clip, pipe 6162435600
Loading…
↗
6
655245600100
Filter assembly
Loading…
↗
8
9321037M2500
O-ring (655)
Loading…
↗
10
6H1245660000
Bracket, Filter
Loading…
↗
11
988800810000
Nut, hex.
Loading…
↗
12
6A0244100500
Fuel pump assembly
Loading…
↗
13
648244110000
Diaphragm
Loading…
↗
14
648244240000
Seat,spring
Loading…
↗
15
648244230000
Spring,diaphragm
Loading…
↗
16
648244340100
Gasket, body
Loading…
↗
17
6A0244210100
Valve, check
Loading…
↗
18
6A0143250000
Screw, pan head
Loading…
↗
19
953800360000
Nut (6g8)
Loading…
↗
20
648244350200
Gasket, body 2
Loading…
↗
21
663244110000
Diaphragm
Loading…
↗
22
648244130100
Cover, pump
Loading…
↗
23
985800553000
Ybs86-530 screw,panhead
Loading…
↗
24
929900510000
Ybs67-5 washer, spring
Loading…
↗
25
65024431A000
Gasket,fuel pump
Loading…
↗
26
970950604000
Bolt (682)
Loading…
↗
28
6H1243140000
Pipe 4
Loading…
↗
30
90445090F600
Hose (l1500)
Loading…
↗
31
688243130000
Pipe, fuel 2
Loading…
↗
32
688243140000
Pipe, fuel 2
Loading…
↗
34
904450922000
Hose (l1500)
Loading…
↗
35
688243780000
Pipe, joint
Loading…
↗