Yamaha Outboard Parts - Fuel - F80AET (2001) | Flood Marine
New Search
Parts
New Outboards
Home
F80AET (2001)
Fuel
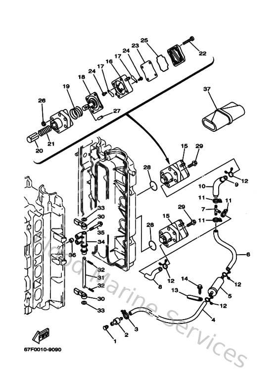
Diagram: Fuel
Parts List
Reference
Description
Price
1
703821190000
Cover, lead wire
Loading…
↗
2
67F243770000
Pipe, joint 3
Loading…
↗
3
9046511M1000
Clamp
Loading…
↗
4
9044511M4900
Hose (l700)
Loading…
↗
5
67F242510100
Strainer 1
Loading…
↗
6
9044511M5000
Hose (L205)
Loading…
↗
7
688243780000
Pipe, joint
Loading…
↗
8
90445117F000
Hose (l120)
Loading…
↗
10
9044516M0700
Hose (l80)
Loading…
↗
12
9046710M0400
Clip, pipe 1 (6e9)
Loading…
↗
13
6E5825880000
Plate
Loading…
↗
14
9010906M8100
Bolt
Loading…
↗
15
67F244100000
Fuel pump assembly
Loading…
↗
16
67F244130000
Body 2
Loading…
↗
17
62Y244210100
Valve, check
Loading…
↗
18
67F244110000
Diaphragm
Loading…
↗
19
62Y244230000
Spring, diaphragm
Loading…
↗
20
67F131310000
Plunger
Loading…
↗
21
67F244540000
Spring
Loading…
↗
22
62Y244440000
Screw
Loading…
↗
23
62Y244710000
Diaphragm
Loading…
↗
24
6A0244530000
Screw
Loading…
↗
25
62Y244520000
Packing
Loading…
↗
26
953800560000
Nut, hexagon (663)
Loading…
↗
27
67F243740000
Pin
Loading…
↗
28
932102919800
O-ring (371)
Loading…
↗
29
9011906M8300
Bolt, with washer
Loading…
↗
30
67F245750000
Lever, fuel change
Loading…
↗
31
67F244950000
Shaft
Loading…
↗
32
916092501400
Pin, Spring
Loading…
↗
33
9020108M1200
Washer plate (682)
Loading…
↗
34
67F244910000
Bracket, fuel pump
Loading…
↗
35
901190723500
Bolt, with washer
Loading…
↗
36
918090800600
Pin, dowel
Loading…
↗
37
67F281000000
Tool kit
Loading…
↗