Yamaha Outboard Parts - Fuel - Z150Q (2000) | Flood Marine
New Search
Parts
New Outboards
Home
Z150Q (2000)
Fuel
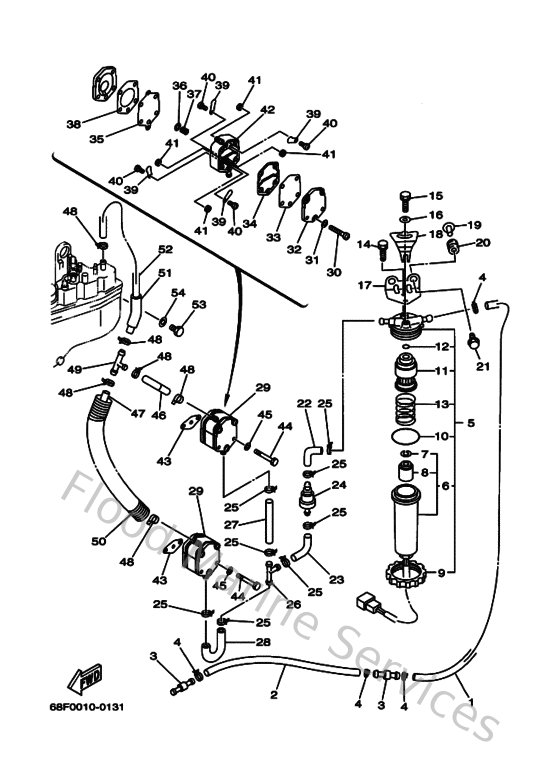
Diagram: Fuel
Parts List
Reference
Description
Price
1
61A243130000
Pipe 3
Loading…
↗
2
6N7243130000
Pipe 3
Loading…
↗
3
6R3243770000
Pipe, joint 3
Loading…
↗
4
9046511M1000
Clamp
Loading…
↗
5
68F245600000
Filter assembly
Loading…
↗
6
68F245620000
Cup, filter
Loading…
↗
7
68F245190000
Clip
Loading…
↗
8
68F244690000
Float, Water Level
Loading…
↗
9
65L245310000
Nut
Loading…
↗
10
61A245640000
O-ring
Loading…
↗
11
68F245630000
Element, filter
Loading…
↗
12
65L245640000
Gasket
Loading…
↗
13
68F245670000
Spring
Loading…
↗
14
975950651400
Bolt(gj3)
Loading…
↗
15
9011906M4100
Bolt, with washer(6r6)
Loading…
↗
16
902010606800
Washer,plate (6k8)
Loading…
↗
17
68F245660000
Bracket, filter
Loading…
↗
18
65L245580000
Holder, filter
Loading…
↗
19
9038706M6000
Collar (6h3)
Loading…
↗
20
9048010M2300
Grommet(6k7)
Loading…
↗
21
9011906M8800
Bolt, with washer
Loading…
↗
22
61A243110000
Pipe, fuel 1
Loading…
↗
23
61U243161000
Pipe 6
Loading…
↗
24
6R5244080000
Fuel feed assembly
Loading…
↗
26
6E5243780000
Pipe, joint 3
Loading…
↗
27
9044513M3100
Hose (L85)
Loading…
↗
28
67H243110000
Pipe, fuel 1
Loading…
↗
29
6E5244100300
Fuel pump assembly
Loading…
↗
30
985030503500
Screw, pan head (686)
Loading…
↗
31
929030560000
Washer, plain (646)
Loading…
↗
32
6E5244130000
Body 2
Loading…
↗
33
6E5244710000
Diaphragm
Loading…
↗
34
6E5244350000
Gasket, body 2
Loading…
↗
35
6E5244110000
Diaphragm
Loading…
↗
36
648244240000
Seat,spring
Loading…
↗
37
6E5244230000
Spring, diaphragm
Loading…
↗
38
6E5244340200
Gasket, body
Loading…
↗
39
6A0244210100
Valve, check
Loading…
↗
40
6A0143250000
Screw, pan head
Loading…
↗
41
953800360000
Nut (6g8)
Loading…
↗
42
6E5244121000
Body 1
Loading…
↗
43
65024431A000
Gasket,fuel pump
Loading…
↗
44
970950605000
Bolt(jf7)
Loading…
↗
45
929900660000
Washer, plain (646)
Loading…
↗
46
61U243160000
Pipe 6
Loading…
↗
47
6E5243130000
Pipe 3
Loading…
↗
48
904651009800
Clamp
Loading…
↗
50
6N7835570000
Tube
Loading…
↗
51
9044615M0700
Hose(6g4)
Loading…
↗
52
9044513M1200
Hose (L235)
Loading…
↗
53
970950601200
Bolt(gh1)
Loading…
↗
54
929950660000
Washer, plain (646)
Loading…
↗