Yamaha Outboard Parts - Fuel 1 - 40HM (1986) | Flood Marine
New Search
Parts
New Outboards
Home
40HM (1986)
Fuel 1
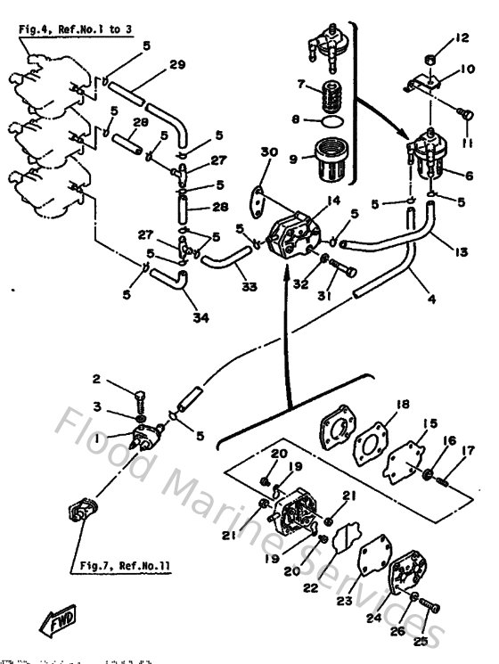
Diagram: Fuel 1
Parts List
Reference
Description
Price
1
6G1243040000
Fuel pipe joint comp. 1
Loading…
↗
2
973130602500
Bolt
Loading…
↗
3
929030660000
Washer, plain (646)
Loading…
↗
4
90445090F600
Hose (l1500)
Loading…
↗
5
904670800400
Clip, pipe 6162435600
Loading…
↗
6
655245600100
Filter assembly
Loading…
↗
7
6F5245630000
Element, filter
Loading…
↗
8
9321037M2500
O-ring (655)
Loading…
↗
10
6H4245660200
Bracket, filter
Loading…
↗
11
973130601200
Bolt(gh1)
Loading…
↗
12
953030860000
Nut(6l2)
Loading…
↗
13
6H4243140000
Pipe 4
Loading…
↗
14
6A0244100100
Fuel pump assembly
Loading…
↗
15
648244110000
Diaphragm
Loading…
↗
16
648244240000
Seat,spring
Loading…
↗
17
648244230000
Spring,diaphragm
Loading…
↗
18
648244340100
Gasket, body
Loading…
↗
19
6A0244210100
Valve, check
Loading…
↗
21
988130310000
Nut
Loading…
↗
22
6A0244350000
Gasket, Body 2
Loading…
↗
23
663244110000
Diaphragm
Loading…
↗
24
648244130100
Cover, pump
Loading…
↗
25
985030502800
Ybs86-530 screw,panhead
Loading…
↗
26
929900510000
Ybs67-5 washer, spring
Loading…
↗
27
688243780000
Pipe, joint
Loading…
↗
28
90445094K700
Hose (l180)
Loading…
↗
29
6H4243130000
Pipe 3
Loading…
↗
30
650244310000
Gasket,fuel pump
Loading…
↗
31
973130604000
Bolt (682)
Loading…
↗
32
929900660000
Washer, plain (646)
Loading…
↗
33
904450906300
Hose (l1500)
Loading…
↗
34
6H4243120000
Pipe, fuel 2
Loading…
↗