Yamaha Outboard Parts - Fuel 2 - 250AETOXLX (1990) | Flood Marine
New Search
Parts
New Outboards
Home
250AETOXLX (1990)
Fuel 2
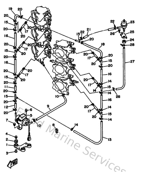
Diagram: Fuel 2
Parts List
Reference
Description
Price
1
61A244910000
Bracket, Fuel Pump
Loading…
↗
2
6A0823170000
Damper, ignition coil
Loading…
↗
3
624425420000
Collar
Loading…
↗
4
9011906M9500
Bolt, with washer
Loading…
↗
5
61A139100000
Fuel pump assy
Loading…
↗
6
975950851400
Bolt, hexagon deep recess
Loading…
↗
7
970800601400
Bolt(gj3)
Loading…
↗
8
9046413M3400
Clamp(6r3)
Loading…
↗
9
6A4243150000
Pipe 5
Loading…
↗
11
9044510M3100
Hose (l45)
Loading…
↗
12
9044510M4300
Hose (l400)
Loading…
↗
13
9044510M4000
Hose (l400)
Loading…
↗
14
9046511M1000
Clamp
Loading…
↗
15
688243780000
Pipe, joint
Loading…
↗
16
9044510M5300
Hose (l400)
Loading…
↗
17
61A243160000
Pipe 6
Loading…
↗
21
61A243150000
Pipe 5
Loading…
↗
22
904651009800
Clamp
Loading…
↗
23
61A244700000
Fuel Regulator Assembly
Loading…
↗
24
953801260000
Nut (707)
Loading…
↗
26
975950651600
Bolt, with washer(6r6)
Loading…
↗
27
90445115H400
Hose (l590)
Loading…
↗